EasyManua.ls Logo

Teac X-2000R - Page 24

Teac X-2000R
67 pages
Print Icon
To Next Page IconTo Next Page
To Next Page IconTo Next Page
To Previous Page IconTo Previous Page
To Previous Page IconTo Previous Page
Loading...
X-2000R
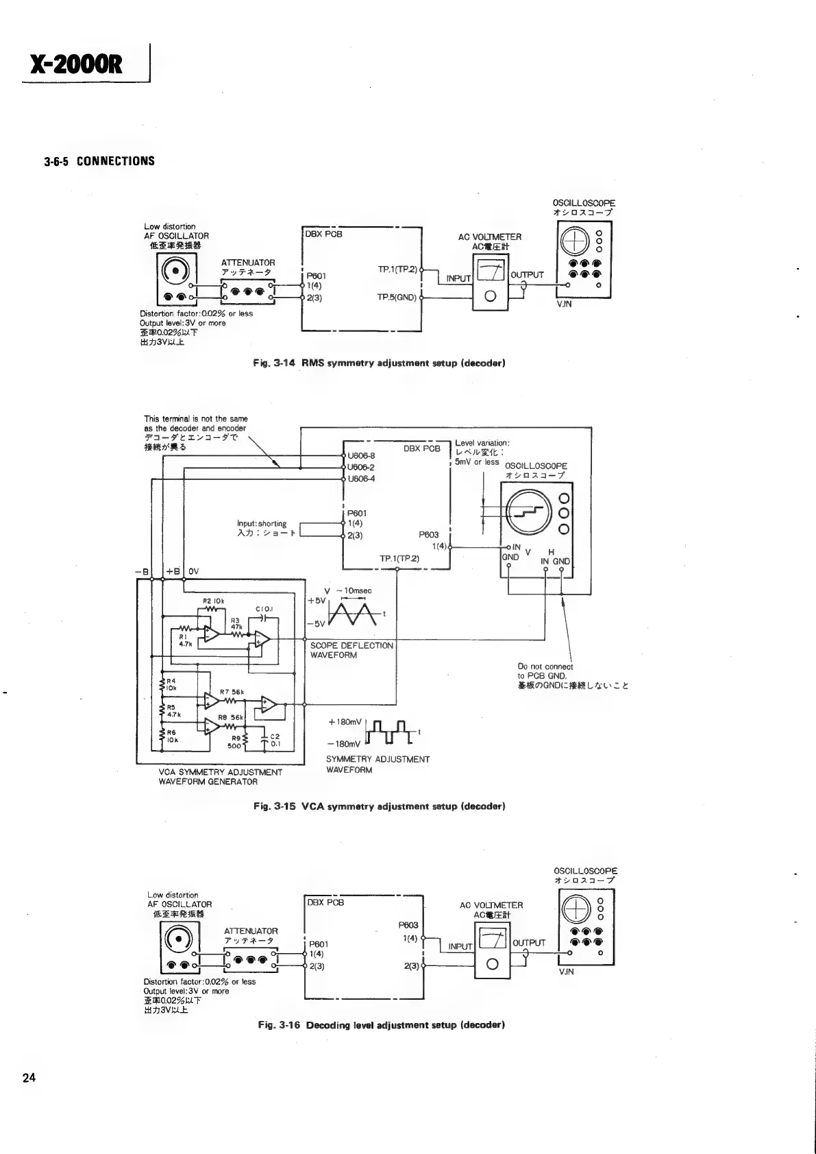
3-6-5
CONNECTIONS
OSCILLOSCOPE
#voza-7F
Low
distortion
-_—_—.-
AF
OSCILLATOR
DBX
PCB
AC
VOLIMETER
EER
i
ACWLit
ATTENUATOR
()
Py
FTR—-F
'
P601
TP.1(TP.2)
>
...
a
a
14)
@@®
ol
__I,
eee
2(3)
TP.5(GND)
¢
Distortion
factor:0.02%
or
less
Output
level:3V
or
more
EHOO2K%UF
HABVELE
Fig.
3-14
RMS
symmetry
adjustment
setup
(decoder)
This
terminal
is
not
the
same
as
the
decoder
and
encoder
Fa-—PFeELYIA-FTt
MVR
ea
RT
PTS
Level
variation:
DBX
Poe
|
LAX
ILBME
:
U606-2
1
SmV
or
less
Qgoit_
|
OSCOPE
7AYroRAzaA-TF
Input:
shorting
;
Wiva-b
2(3)
P603
1{4)
TP.1(TP.2)
|
SCOPE
DEFLECTION
WAVEFORM
Do
not
connect
to
PCB
GND.
MAMARMGNDILHML
GUI
+180mV
o n
t
—180mV
SYMMETRY
ADJUSTMENT
VCA
SYMMETRY
ADJUSTMENT
WAVEFORM
WAVEFORM
GENERATOR
Fig.
3-15
VCA
symmetry
adjustment
setup
(decoder)
OSCILLOSCOPE
Ayvaaa-7F
Low
distortion
AF
OSCILLATOR
DBX
PCB
AC
VOLTMETER
EERIE
ACBEH
ATTENUATOR
PYTaA-F
RH
|
o_o
@@ol
|,
Distortion
factor:0.02%
or
less
Output
level:3V
or
more
BRO02%MLF
HABVELE
Fig.
3-16
Decoding
level
adjustment
setup
(decoder)
24

Related product manuals