EasyManua.ls Logo

Teac X-2000R - Page 25

Teac X-2000R
67 pages
Print Icon
To Next Page IconTo Next Page
To Next Page IconTo Next Page
To Previous Page IconTo Previous Page
To Previous Page IconTo Previous Page
Loading...
X-2000R
OSCILLOSCOPE
ayvoza-7
Low
distortion
AF
OSCILLATOR
DBX
PCB
AG
VOLTMETER
EE
ERA
ACREH
ATTENUATOR
Py
FR
“9
o—
7
1(5)
ee
I
L@@ee@
|
ey
|
Distortion
factor:0.02%
or
less
Output
level:3V
or
more
BHOOQ2KILE
HA38VELE
2(4)
TP.5(GND)
¢
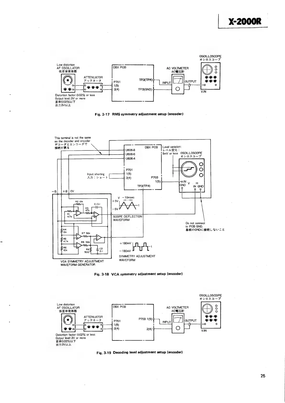
Fig.
3-17
RMS
symmetry
adjustment
setup
(encoder)
This
terminal
is
not
the
same
as
the
decoder
and
encoder
Fa-PFerva-7Ft
BRVRS
DBX
PCB
|
Level
variation:
U606-8
LAILAME
:
U606-6
4
SmvV
or
less
OSCILLOSCOPE
tvraoza-7
Input:
shorting
;
An:
yva-—t
SCOPE
DEFLECTION
WAVEFORM
Do
not
connect
to
PCB
GND.
ROGNDI
HAMEL
Boe
+180mV
fl
o
t
—180mV
SYMMETRY
ADJUSTMENT
WAVEFORM
VGA
SYMMETRY
ADJUSTMENT
WAVEFORM
GENERATOR
Fig.
3-18
VCA
symmetry
adjustment
setup
(encoder)
OSCILLOSCOPE
Ayvaaza-7
Low
distortion
AF
OSCILLATOR
DBX
PCB
AC
VOLTMETER
BEER
ACRE
ATTENUATOR
Py
FR—-F
+
P701
P703
1(5)
>
ere
ae
o—
1(8)
@@ol
_1eee
st
Jaa)
Distortion
factor:0.02%
or
less
Output
level:3V
or
more
EROO2KIUAF
-
HABVEAL
Fig.
3-19
Decoding
level
adjustment
setup
(encoder)
25

Related product manuals