EasyManua.ls Logo

TECALEMIT TEC4004 - Floor Preparation and Anchoring

TECALEMIT TEC4004
53 pages
Print Icon
To Next Page IconTo Next Page
To Next Page IconTo Next Page
To Previous Page IconTo Previous Page
To Previous Page IconTo Previous Page
Loading...
SISTEMA DI INSTALLAZIONE
MEDIANTE TASSELLI AD
ESPANSIONE
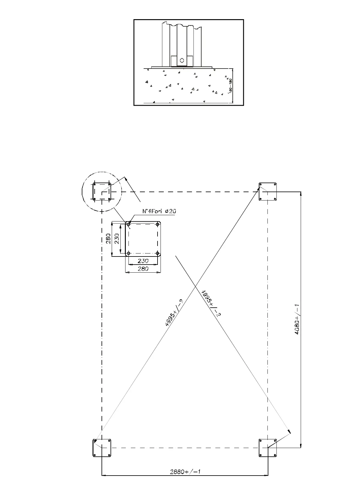
Esem pio su pa vi men to di tipo in du stria le,
rea liz za to in cal ce struz zo di do sag gio me -
dio con rete elet tro sal da ta in ter na, spes so
cir ca 160- 180 mm e ben li vel la to (Fig.37).
Fig.37 Spes so re pa vi men ta zio ne
PREPARAZIONE DEL PAVIMENTO - TRACCIATURA
Trac cia re sul pa vi men to la po si zio ne del le co lon ne se con do le in di -
ca zio ne di fi gu ra 38.
Le mi su re in di ca te sono tas sa ti ve con tol le ran ze am mes se:
- su al li nea men to +/- 1 mm
- su squa dra tu ra +/- 2 mm
Fig.38 Trac cia tu ra
INSTALLING WITH EXPANSION
ANCHORS
Example of installation on industrial floor in
average mix concrete with embedded electro-
welded reinforcing mesh, thickness approxim-
ately 160- 180 mm and properly levelled
(fig.37).
Fig.37 Flo or thickness
PREPARING THE FLOOR - MARKING
Mark the position of the posts on the floor as shown in figure 38.
The measurements shown in the figure are compulsory; maximum
tolerance is:
- +/- 1 mm alignment
- +/- 2 mm out of square
Fig.38 Mar king
23
4 Holes diam. 20