EasyManua.ls Logo

TECALEMIT TEC4004 - Page 31

TECALEMIT TEC4004
53 pages
Print Icon
To Next Page IconTo Next Page
To Next Page IconTo Next Page
To Previous Page IconTo Previous Page
To Previous Page IconTo Previous Page
Loading...
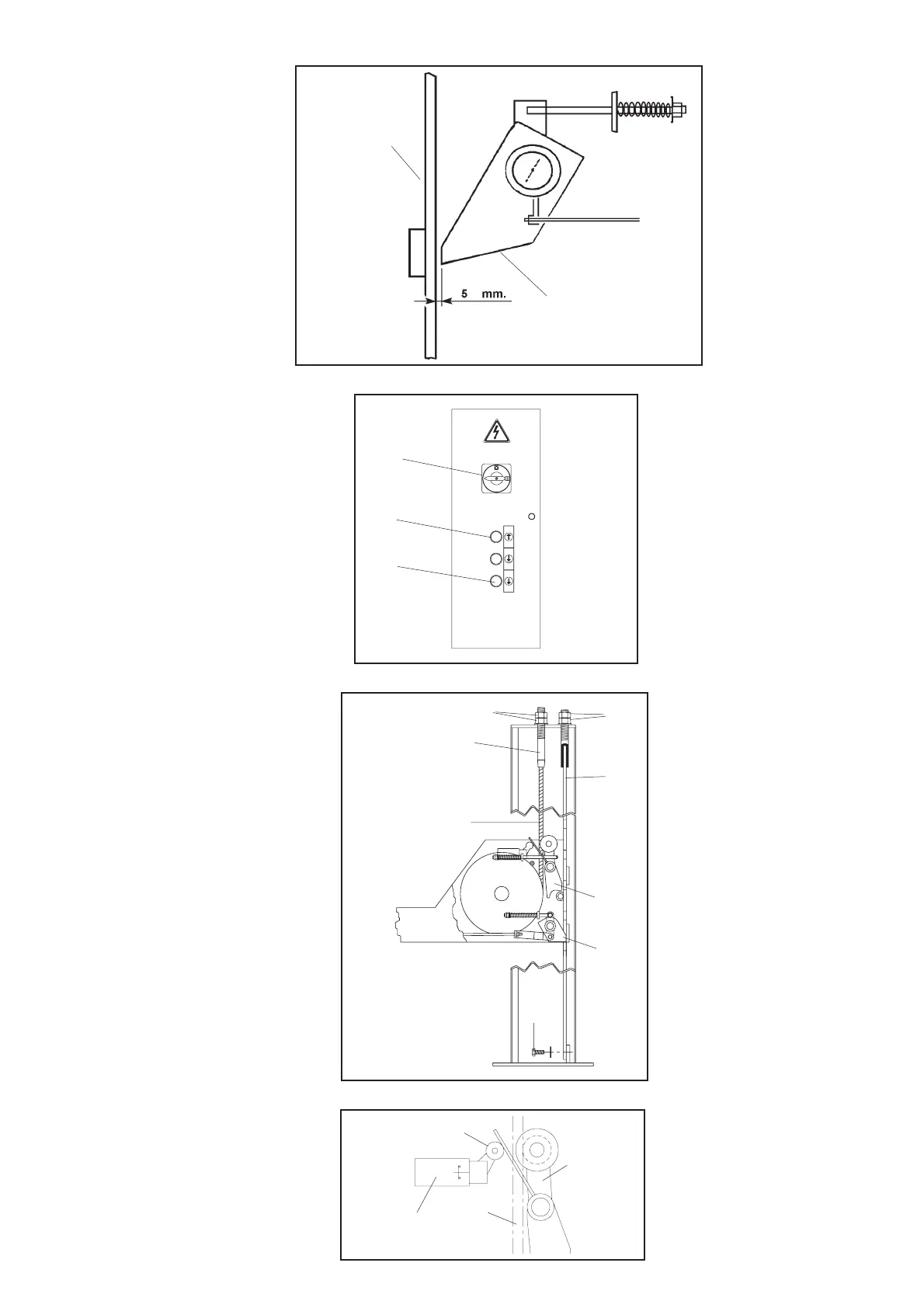
Prima di eseguire alcuna manovra controllare:
1) il livello dell’olio, eventualmen
-
te rabboccare con olio minerale
per impianti oleodinamici
ISO 32 - H-LP DIN 51525
2) il senso di rotazione del moto
-
re, premendo per un istante il
pulsante di salita
“ATTENZIONE” una prolungata
rotazione in senso contrario può
creare gravi danni alla pompa.
3) la regolare apertura dei mar
-
telletti.Tenendo premuto il pul
-
sante di discesa verificare che la
distanza tra la sicurezza e l’asta
sia di 5 mm fig.51una distanza
inferiore potrebbe causare l’ag
-
gancio accidentale della sicurez
-
za, una distanza superioreimpe
-
direbbe la perfetta chiusura
dell’elettromagnete originando
rumorose vibrazioni.
Fig.50 Pannello di comando
PREREGISTRAZIONI FUNI
Chiudere il quadro, portare l’interruttore
(QS) in pos. 1e far salire il sollevatore fino a
liberare i cavalletti (A-B-C-D), riportare
l’interruttore in pos.0 quindi toglierli.
Portare l’interruttore generale (QS in
Fig.50) in posizione 1, premere il pulsante
di discesa (SB2) e verificare che il solleva-
tore scenda. Se cio’ non avvenisse verifica-
re la regolazione dei 4 sensori funi (pos.14,
Fig.45) e, se necessario, regolarli agendo
sulla vite della leva di scatto del microinter-
ruttore (pos.36, Fig.52).
Posizionare il sollevatore in modo che i 4
martelletti (32), mostrati in Fig.51, siano
alloggiati dentro le asole delle aste di si-
curezza (12). Agendo sui dadi (20) dei
terminali (19) delle funi (33) eseguire le
registrazioni delle pedane (7 e 8) in modo
da ottenere la planarità di tutta la parte
mobile.
Allentare le viti inferiori (34) di fissaggio
delle aste di sicurezza (12) e agendo sui
dadi superiori (35) delle stesse, regolarle
in modo da avere un’eguale distanza tra i
martelletti (31 e 32) e le asole delle aste
di sicurezza (12) sulle 4 colonne (1-2-
3-4). Serrare a fondo le viti inferiori (34) e
bloccare la parte superiore con controda-
do (35).
Fig.51 Preregistrazione funi
Fig.52
Before making any manoeuvres:
1) Check the fluid level, and fill if
necessary using mineral oil for
hydraulic system
ISO 32 - H-LP DIN 51525
2) Check the rotation direction of
the motor by pushing the lifting
pushbutton momentarily
WARNING: prolonged rotation
in the wrong direction can
seriously damage the pump.
3) adjust the opening of the
wedges. Keeping the descent
button pressed, check the dis
tance between the safety device
and the rod is 5 mm. A lesser
space could cause the safety
device to hook, while a greater
space could prevent a perfect
electromagnet closure with con-
sequent noisy vibration.
Fig.50 Control panel
CABLE PRE-ADJUSTMENT
Close the panel, put the switch (QS) in pos.
1 and make the lift rise until clearing the
wedges (A-B-C-D); then put the switch in
position 0 and close them again. Put the
main switch (QS in fig.50) in position 1,
press the lowering button (SB2) and check if
the lift lowers. If this doesn’t happen, check
the adjustment of the four cable sensors
(pos. 14, fig. 45) and, if necessary, adjust
them by acting on the screw of the micro
switch release lever (pos. 36, fig. 52).
Position the lift so that the four wedges (32)
in fig.51 are firmly seated in the slots on the
safety rods (12). Adjust the nuts (20) on
the terminal blocks (19) of the lift cables
(33) to level the platforms (7 and 8) so that
the entire surface of the movable section
of the lift is perfectly level.
Loosen the lower screws (34) securing the
safety rods (12) and, by turning the upper
nuts (35) of the rods, adjust so that the di-
stance between the wedges (31 and 32)
and the slots in the safety rods (12) is
identical on all four posts (1-2-3-4). Tigh-
ten the lower screws (34) fully and secure
the upper part with the lock nut (35)
.
Fig.51 Pre-adjustment of lift cables
Fig.52
29
QS
SB2
SB1
Fune
Rope
Sensore
Sensor
Microinterruttore
Microswitch
36
Martelletto
Wedge
Asta di sicurezza
Safety rod
Fig.49
20
19
34
32
12
35
33
31