EasyManua.ls Logo

Technics SA-DX950 - Page 51

Technics SA-DX950
79 pages
Print Icon
To Next Page IconTo Next Page
To Next Page IconTo Next Page
To Previous Page IconTo Previous Page
To Previous Page IconTo Previous Page
Loading...
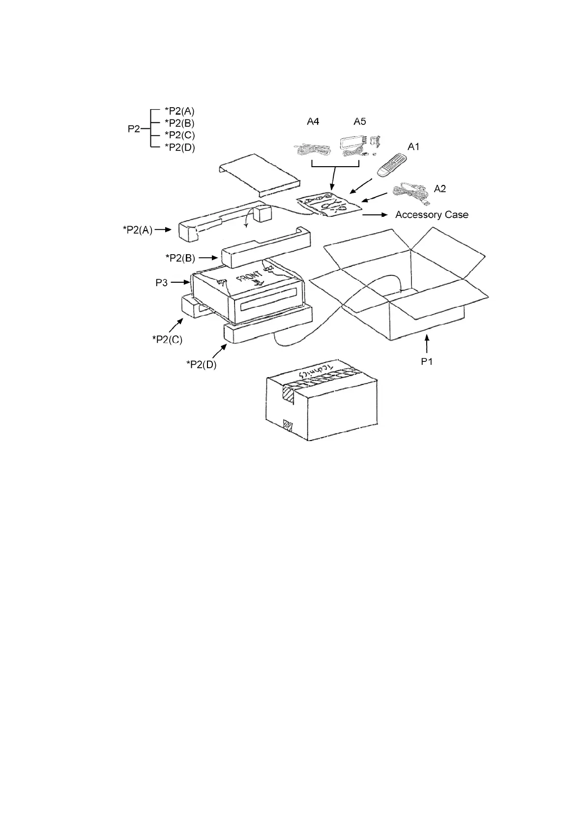
A5 : AM LOOP ANTENNA
/ Printed in Singapore / M010200001FLE/H/K/J/D/N
51

Other manuals for Technics SA-DX950

Related product manuals