EasyManua.ls Logo

Technics SL-1210M5GE - Page 36

Technics SL-1210M5GE
67 pages
Print Icon
To Next Page IconTo Next Page
To Next Page IconTo Next Page
To Previous Page IconTo Previous Page
To Previous Page IconTo Previous Page
Loading...
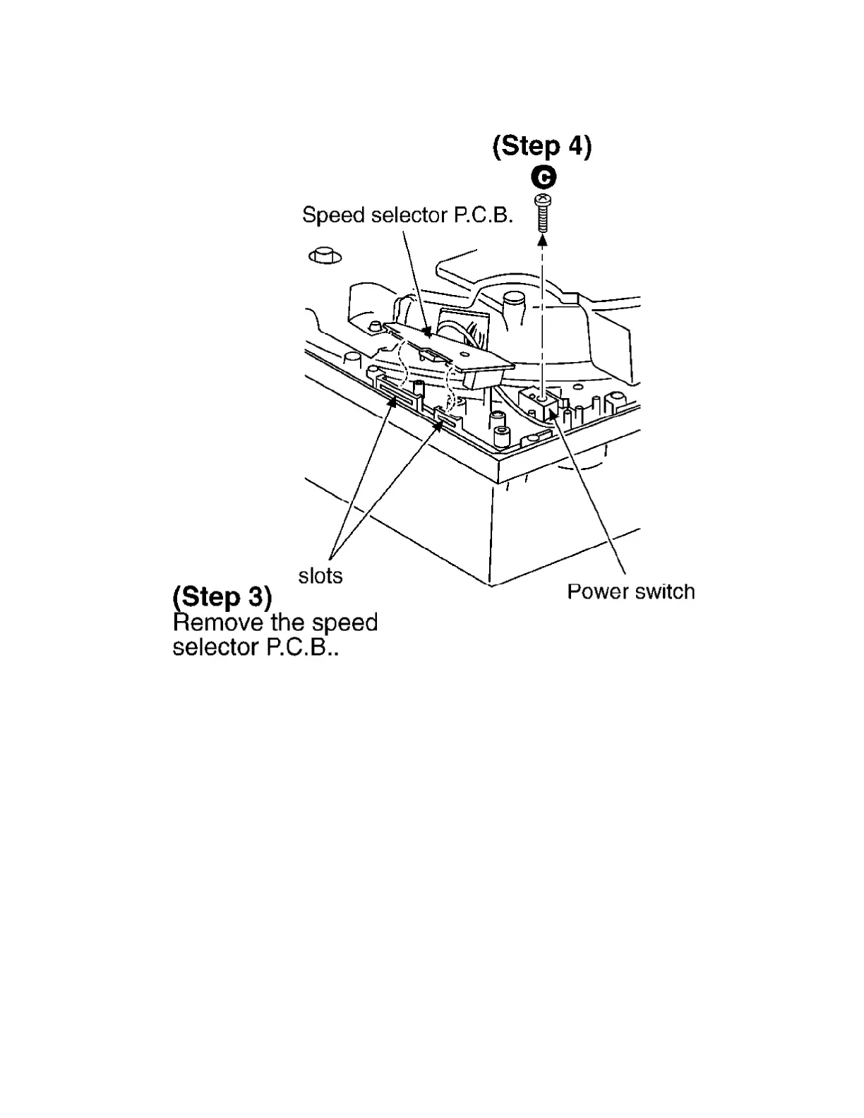
6.6. Replacement for the LED and stylus illuminator switch
- Follow the (Step 1) of item 6.1.
- Follow the (Step 2) - (Step 7) of item 6.2.
36

Related product manuals