EasyManua.ls Logo

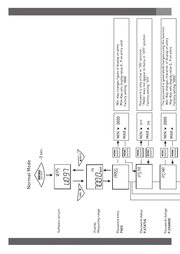
Tecsis DC400 Series - 6. Programming P3961;P3962; Password Management

Default Icon
Print Icon
To Next Page IconTo Next Page
To Next Page IconTo Next Page
To Previous Page IconTo Previous Page
To Previous Page IconTo Previous Page
Loading...
BD_BE_BF_BSP 777 d
26 Betriebsanleitung / Operating manual / Instructions de service / Instrucciones de uso
GB
6. Programming P3961/P3962
Model P3962

Related product manuals