EasyManua.ls Logo

Tectro TS 425 - Manual Operation; Steps for Manual Unit Operation; Manual Control Button Modes and Sequences

Tectro TS 425
Print Icon
To Next Page IconTo Next Page
To Next Page IconTo Next Page
To Previous Page IconTo Previous Page
To Previous Page IconTo Previous Page
Loading...
4
117
D MANUAL OPERATION
The air conditioner can be operated manually on the air conditioner itself as well as with the remote con-
trol included. For operation with the remote control please refer to chapter E “Operation with Remote
Control”. When operating without the remote control the air conditioner will only work in the AUTO-mode.
For operation without the remote control follow these instructions:
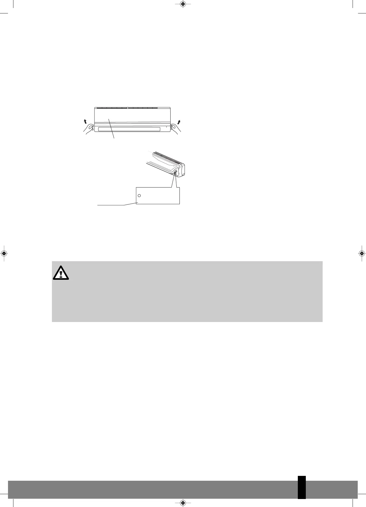
1. Open and lift the front panel up to an angle until it remains fixed with a clicking sound.
2. One press of the manual control button will lead to the AUTO operation.
3. Close the panel firmly to its original closed position.
CAUTION
Once you push the manual button, the operation mode is shifted in an order as: AUTO, COOL,
OFF.
Push the button twice within 5 seconds, the unit will operate in forced COOL mode. This is used
for testing purposes only.
Third press will stop the operation and turn off the air conditioner operation.
To restore the remote controller operation, use the remote controller directly.
Panel
AUTO / COOL
Manual control
button
man_TS(CS)4xx.qxd:man_S18xx 09-01-13 10:56 Page 117

Table of Contents

Other manuals for Tectro TS 425

Related product manuals