EasyManua.ls Logo

Tectro TS 425 - Page 56

Tectro TS 425
Print Icon
To Next Page IconTo Next Page
To Next Page IconTo Next Page
To Previous Page IconTo Previous Page
To Previous Page IconTo Previous Page
Loading...
2.2 Pulse el botón Timer off de nuevo para programar la hora de parada.
2
.3 Después de haber programado Timer off, habrá un retardo de medio segundo antes de que el mando
a distancia transmita la señal al aire acondicionado.
Ejemplo de configuración del temporizador
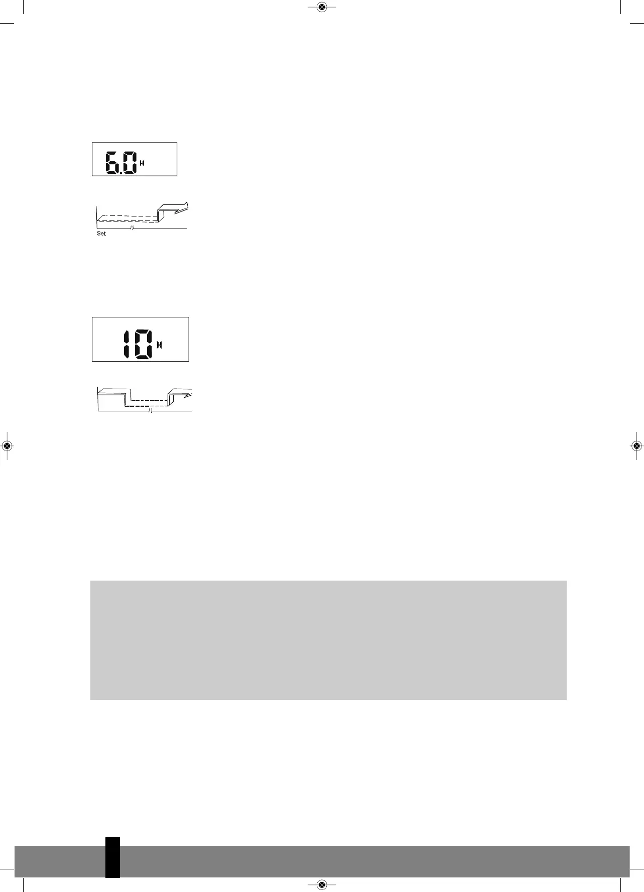
Para poner en marcha el acondicionador de aire en 6 horas:
1
. Pulse el botón TIMER ON. Se mostrarán la última hora de puesta en marcha confi-
gurada y la señal "h" en el área de pantalla.
2. Pulse el botón TIMER ON y configure el valor "6:0h".
3. Espere un segundo; el área de pantalla digital volverá a mostrar la temperatura de
nuevo. El indicador "TIMER ON" permanecerá encendido y la función quedará
activada.
Temporizador combinado
(configuración simultánea de los temporizadores de ENCENDIDO y APAGADO)
TIMER OFF --> TIMER ON
(Encendido --> Parada --> Puesta en marcha)
Esta función resulta útil si desea que el acondicionador de aire se detenga después
de haberse ido a dormir y vuelva a ponerse en marcha de nuevo al levantarse por la mañana o al volver a
casa.
Ejemplo:
Para que el acondicionador de aire se detenga 2 horas después de la configuración y vuelva a ponerse en
marcha 10 horas después de la configuración:
1. Pulse el botón TIMER OFF.
2. Pulse de nuevo el botón TIMER OFF y configure el valor 2.0h en la pantalla TIMER OFF.
3. Pulse el botón TIMER ON.
4. Pulse de nuevo el botón TIMER ON y configure el valor 10h en la pantalla TIMER ON.
5. Espere un segundo; el área de pantalla digital volverá a mostrar la temperatura de nuevo. El indicador
TIMER ON OFF permanecerá encendido y la función quedará activada.
Start
Off
6
h
T
IMER ON
On
Stop
2hSet
On
1
0h
TIMER ON OFF
G
¡ATENCIÓN!
Si se ha programado la misma hora para el INICIO y para la PARADA, la hora de parada
incrementará en 0,5hr (si la hora programada mostrada es inferior a 10 horas) o en 1 hora (si la
hora programada es 10 horas o más).
Para cambiar la hora Timer on/off, simplemente pulse el botón correspondiente del
TEMPORIZADOR y programe la hora de nuevo.
El tiempo programado es tiempo relativo. Es la hora programada basada en el retardo de la
hora actual.
5
56
man_TS(CS)4xx.qxd:man_S18xx 09-01-13 10:56 Page 56

Table of Contents

Other manuals for Tectro TS 425

Related product manuals