EasyManua.ls Logo

Tectro TS 425 - Page 95

Tectro TS 425
Print Icon
To Next Page IconTo Next Page
To Next Page IconTo Next Page
To Previous Page IconTo Previous Page
To Previous Page IconTo Previous Page
Loading...
FIN
95
D KÄYTTÖ MANUAALISESTI
Ilmastointilaitetta voidaan käyttää manuaalisesti laitteen säätimillä tai laitteen mukana toimitetulla kauko-
säätimellä. Katso ohjeet kaukosäätimen käyttöä varten luvusta E ”Käyttö kaukosäätimellä”. Kun ilmastoin-
tilaitetta käytetään ilman kaukosäädintä, se toimii ainoastaan automaattisessa tilassa (AUTO). Noudata seu-
raavia ohjeita laitteen käyttämiseksi ilman kaukosäädintä:
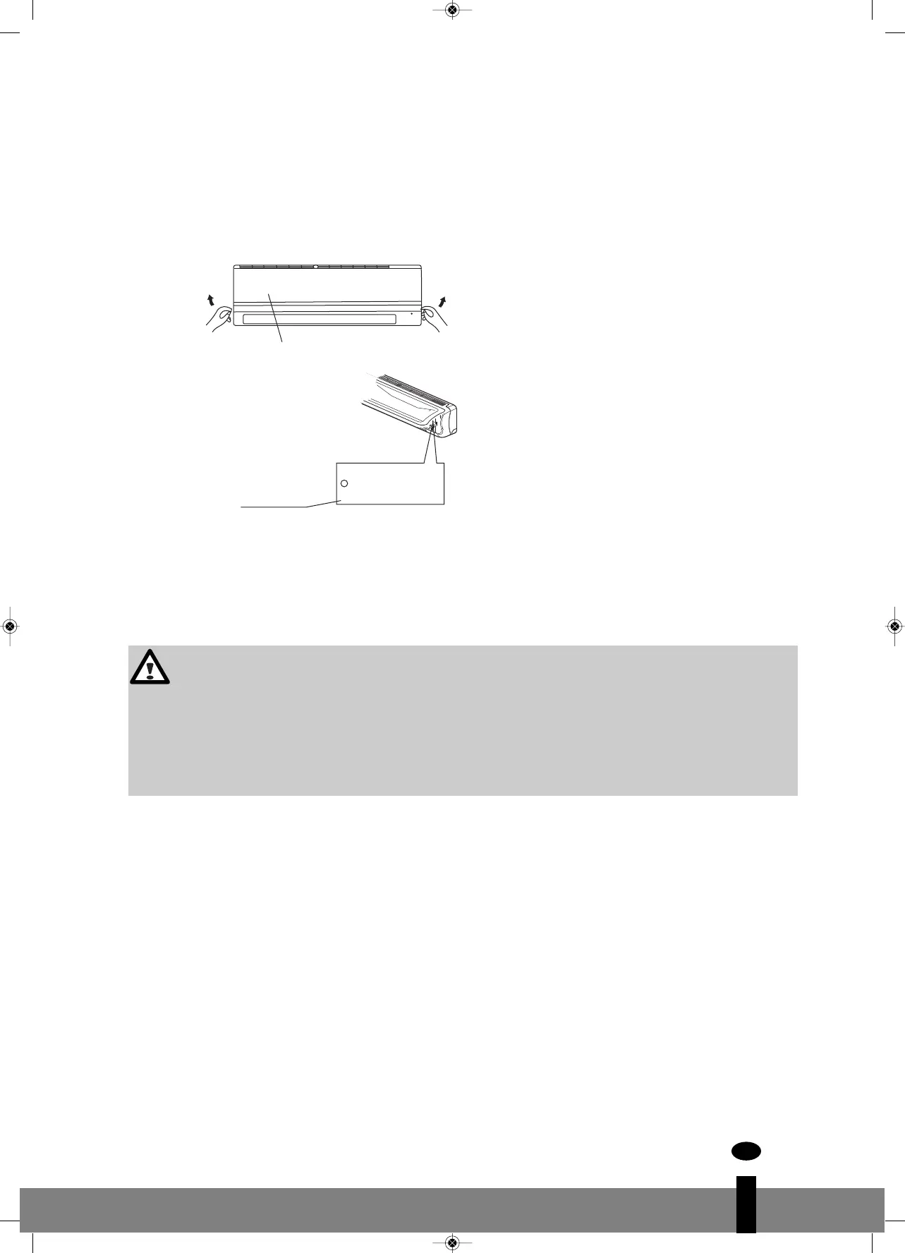
1. Avaa etupaneeli ja nosta sitä ylöspäin, kunnes se naksahtaa paikalleen.
2. Manuaalisen käyttöpainikkeen painallus käynnistää automaattisen toiminnan (AUTO).
3. Sulje paneeli tukevasti sen alkuperäiseen asentoon.
VAROITUS!
Kun manuaalista käyttöpainiketta painetaan, laitteen toimintatila vaihtuu seuraavassa
järjestyksessä: AUTOMAATTINEN (AUTO), JÄÄHDYTYS (COOL), POISSA (OFF).
Kun painiketta painetaan kahdesti viiden sekunnin kuluessa, laite toimii pelkäsän
jäähdytystilassa (COOL). Tätä käytetään vain testaustarkoituksiin.
Kun painiketta painetaan kolmannen kerran, ilmastointilaite lopettaa toimintansa ja sammuu.
Laitteen käyttöä kaukosäätimen avulla voidaan jatkaa tavallisesti.
Paneeli
AUTOMAATTI-
/JÄÄHDYTYSTOIMINTO
(AUTO/COOL)
Manuaalinen
käyttöpainike
man_TS(CS)4xx.qxd:man_S18xx 09-01-13 10:56 Page 95

Table of Contents

Other manuals for Tectro TS 425

Related product manuals