EasyManua.ls Logo

Teka IB 6415 - Page 48

Teka IB 6415
Print Icon
To Next Page IconTo Next Page
To Next Page IconTo Next Page
To Previous Page IconTo Previous Page
To Previous Page IconTo Previous Page
Loading...
CS
48


 
poškození nebo
prasknutí


elektrického proudu,

elektrickým proudem.
 
  

 

nebo samostatným






Vyvarujte se dotyku

   
pokud nejsou pod

   


osoby s fyzickou,
psychickou nebo

osoby nezkušené



informací o jeho
provozu a o


  

bez dozoru.


Pozor: Je

tukemneboolejem
bez dozoruosoby,
 
  
nepokoušejte uhasit

situaci odpojte
 
elektrického proudu a





  

Pokud byl
poškozen hlavní
 

 
výrobcem nebo
autorizovanou
servisní jednotkou.

pouze vhodné


 

varné desky tohoto


 
nehodu.
Instalace

   


   
  



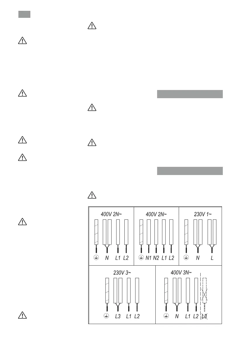
Zapojení k elektrické síti
   
  

   
obr. 1
zelenožlutá
modrá
kaštanová
šedá
černá
zelenožlutá
modrá
kaštanová
šedá
černá
zelenožlutá
modrá
kaštanová
šedá
černá
zelenožlutá
modrá
kaštanová
šedá
černá
zelenožlutá
modrá
kaštanová
šedá
černá
NEPOUŽÍ
VAT L3

Related product manuals