EasyManua.ls Logo

Tektronix 2213 - Page 162

Tektronix 2213
224 pages
Print Icon
To Next Page IconTo Next Page
To Next Page IconTo Next Page
To Previous Page IconTo Previous Page
To Previous Page IconTo Previous Page
Loading...
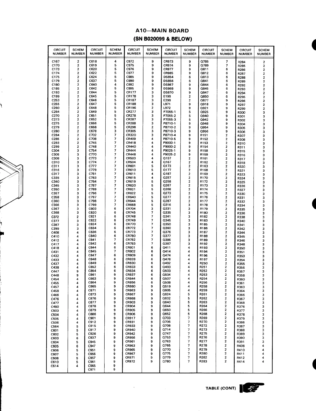
A10-MAIN
B
OA
RD
(S
NΒ
020099
&
BEL
O
W)
TA
BLE(CO
N
T)
CIRCUIT
NUMBER
SCHEM
NUMBER
CIRCUIT
NUMBER
SCHEM
NUMBER
CIRCUIT
NUMBER
SCHEM
NUMBER
CIRCUIT
NUMBER
SCHEM
NUMBER
CIRCUIT
NUMBER
SCHEM
NUMBER
CIRCUIT
NU
M
BER
SCHEM
NUMBER
C167
2
C618
4
C972
9
C
R
973
9
Q785
7
R284
2
C170
2
C619
5
C975
9
CR
974
9
Q789
7
R
285
2
C173
2
C620
5
C976
9
C
R
977
9
0811
6
R
286
2
C174
2
C622
5
C977
9
CR
985
9
Q812
6
R
287
2
C175
2
C624
5
C985
9
DS854
6
Q813
6
R
288
2
C179
2
C637
5
C990
9
DS856
6
0841
6
R
289
2
C180
2
C640
4
C992
9
DS867
9
Q844
6 R
292
2
C185
2
C642
5
C995
9
DS868
9
Q845
6
R
293
2
C193
2
C644
5
CR
177
3
DS870
9
Q847
6
R294
2
C199
2
C645
5
CR
178
3
E199
2
Q850
6
R
295
2
C253
2
C646
5
CR
187
3
E299
2
0877
9
R
296
2
C255
2
C647
5
C
R
188
3 L
971
9
Q918
9
ρ
297
2
C260
2
C648
5
CR
196
2 L
972
9
0921
9
R
299
2
C264
2
C649
5
C
R
277
3 Ρ
7055-1
5
Q925
9
R
300
3
C270
2
C651
5
CR
278
3 Ρ
7055-2
5
Q940
9 R
301
3
C273
2
C652
5
CR
287
3 Ρ
7055-3
5
Q942
9
R
302
3
C275
2
C666
5
CR
288
3 Ρ
8710-1
9
Q948
9
R
304
3
C279
2
C668
5
C
R
296
2 Ρ
8710-2
9
0954
9
R
305
3
C280
2
C678
3 CR
305
3 Ρ
8710-3
9
0956
9
R
306
3
C284
2
C702
7
C
R
320
3 Ρ
8710-4
9
R
151 2
ρ
307
3
C285
2
C708
7 CR
409
4 Ρ
8710-5
9
R
152
2
R
308
3
C293
2
C745
7 CR
418
4 Ρ
9000-1
9
R
153
2
R
310
3
C299
2
C748
7
C
R
440
4
Ρ
9000-2
9
R
154
2
R
311
3
C304
3
C754
7 CR
444
4 Ρ
9025-1
9
R
158
2
ρ
315
3
C305
3
C770
7 CR
448
4
Ρ
9025-2
9
R
159
2
R
316
3
C308
3
C773
7 CR
503
4
0157
2
R
161 2
R
317
3
C310
3
C774
7 CR
504
4
Q167
2
R
162
2
R
318
3
C311
3
C777
7 CR601 5
Q173
2
8163
2
R
320
3
C316
3
C779
7 CR
610
5
Q177
2
R
168
2
R
321 3
C317
3
C781
7 CR611 4
0187
2
R
169
2
R
323
3
C335
3
C783
7 CR
615
4
0257
2
R
170
2
R
324
3
C340
3
C784
7 CR
619
5
Q258
2
R
172
2
R
325
3
C345
3
C787
7 CR
620
5
0267
2 R
173
2
R
326
3
C350
3
C789
7 CR621 5
0268
2 R
174
2
R
327
3
C357
3
C796
7 CR
622
5
Q273
2 R
175
2
R
330
3
C358
3
C797
7 CR
640
5
0277
2 R
176
2
R331 3
C360
3
C798
7
C8644
5
Q287
2 R
177
2 R
332
3
C366
3
C799
7 CR
668
5
0316
3 R
178
2
R
334
3
C367
3
C803
6 CR
704
3
Q331
3 R
179
2
R
335
3
C368
3
C820
6 C
R
745
7
Q335
3 R
180
2
R
336
3
C372
2
C821
6 CR
748
7
Q341
3 R
182
2
R
338
3
C377
3
C822
6
C
R
749
7 (1345
3 R
183
2
R
340
3
C387
3
C824
6 C
R
770
7
0350
3 R
185
2
R341 3
C399
3
C834
6 C
R
772
7
Q360
3 R
186
2
R
342
3
C408
4
C836
6
CR
773
7
Q376
3 R
187
2
R
344
3
C410
4
C840
6
CR
780
7
Q377
3 R
188
2
ρ
345
3
C412
4
C841
7
CR
782
7
Q386
3 R
189
2
R
346
3
C417
4
C842
6
CR
783
7
0387
3 R
192
2
R
348
3
ς
418
4
C844
6
CR
801
6
0411
4
R
193
2
R
350
3
ς
431
4
C845
7
CR802
6
0414
4 R
194
2
R351
3
C432
4
C847
6
CR
809
6
Q474
4 R
196
2
R
353
3
C433
4
C848
6
C
R
828
6
0476 4 R
197
2
R
354
3
ς
437
4
C849
6
C
R
830
6
0492
4 R
250
2
R
355
3
C438
4
C852
6
C
R
833
6
0493 4
R251 2
R
356
3
C447
9
C854
6 C
R
834
6
0503 4
R
252
2
R
357
3
ς
448
9
C861
9
C
R
837
6
Q504 4
R
253
2
R
358
3
C454
4
C863
9
C
R
844
6
Q507 4
R
254
2
R
360
3
C455
4
C864
9
C
R
856
6
Q508 4
R256
2
R
361
3
C457
4
C865
9
C
R
860
9
Q519 4
R
258
2
R
363
3
C458
4
C871
9
C
R
863
9
Q605
4
R
259
2
R
364
3
C466
4
C873
9
C
R
867
9
Q624 5
R261 2
R
366
3
C476
4
C876
9
C
R
868
9
Q632
5
R
262
2
R
367
3
ς
477
4
C877
9
C
R
903
9
0640
5 R
263
2
R
368
3
C480
4
C878
9 CR
904
9
0644
5 R
264
2
R
376
3
C503
4
C879
9
C
R
905
9
0650 5
R
266
2
R
377
3
C504
4
C886
9 CR
906
9
0652
5 R
268
2
R
378
3
C505
4
C901
9
C
R
917
9
Q703
7
R
269
2
R
379
3
C506
4
C912
9 CR931 9
Q706
7 R
270
2
R
386
3
C564
5
C915
9 CR
933
9
0708
7 R
272
2
8387
3
C601
5
C917
9 CR
940
9
0714
7 R
273
2
R
388
3
C602
5
C926
9 CR
942
9
0747
7 R
275
2
R
389
3
C603
6
C937
9 C
R
956
9
Q753
7 R
276
2
R
390
3
C604
5
C945
9 CR961 9
0763
7 R
277
2
R391 3
C605
6
C947
9 CR
963
9
Q765
7 R
278
2
R
408
4
C606
5
C951
9 CR
965
9
Q770
7
R
279
2
R
410
4
C607
5
C956
9
CR
967
9
Q775
7 R
280
2
R411 4
C608
5
C957
9
CR971
9
Q779
7 R
282
2
R
412
4
C610
5
C961
9
CR
972
9
Q780
7 R
283
2
R
414
4
C614
4
C965
9
C971
9

Other manuals for Tektronix 2213

Related product manuals