EasyManua.ls Logo

Thermo 3307 - Page 28

Default Icon
57 pages
Print Icon
To Next Page IconTo Next Page
To Next Page IconTo Next Page
To Previous Page IconTo Previous Page
To Previous Page IconTo Previous Page
Loading...
Model 3307/3308 ______________________________________________________________________Maintenance
7 - 3
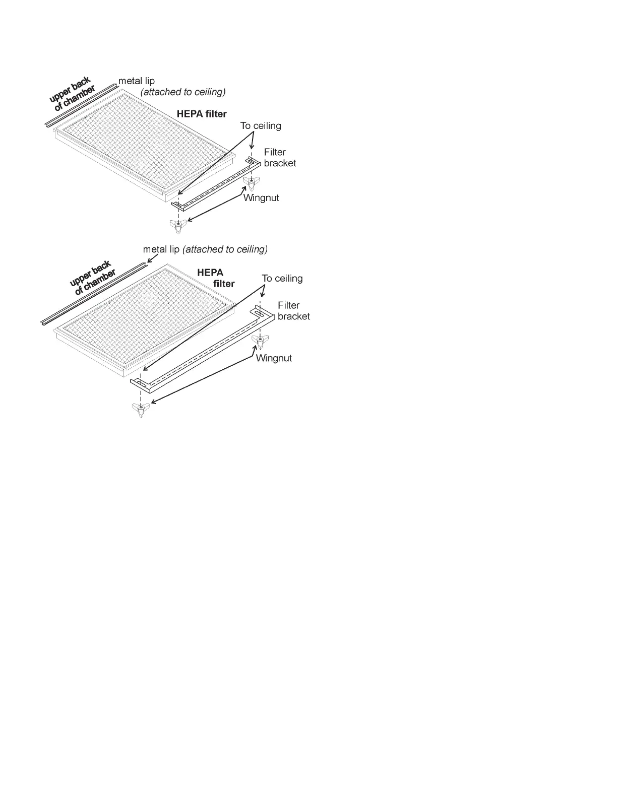
Figure 7-5
orientation for
3310/3311
orientation for
3307/3308

Table of Contents