EasyManua.ls Logo

Thinget XC3-60T-E - Page 170

Default Icon
283 pages
Print Icon
To Next Page IconTo Next Page
To Next Page IconTo Next Page
To Previous Page IconTo Previous Page
To Previous Page IconTo Previous Page
Loading...
Applied Instructions
170
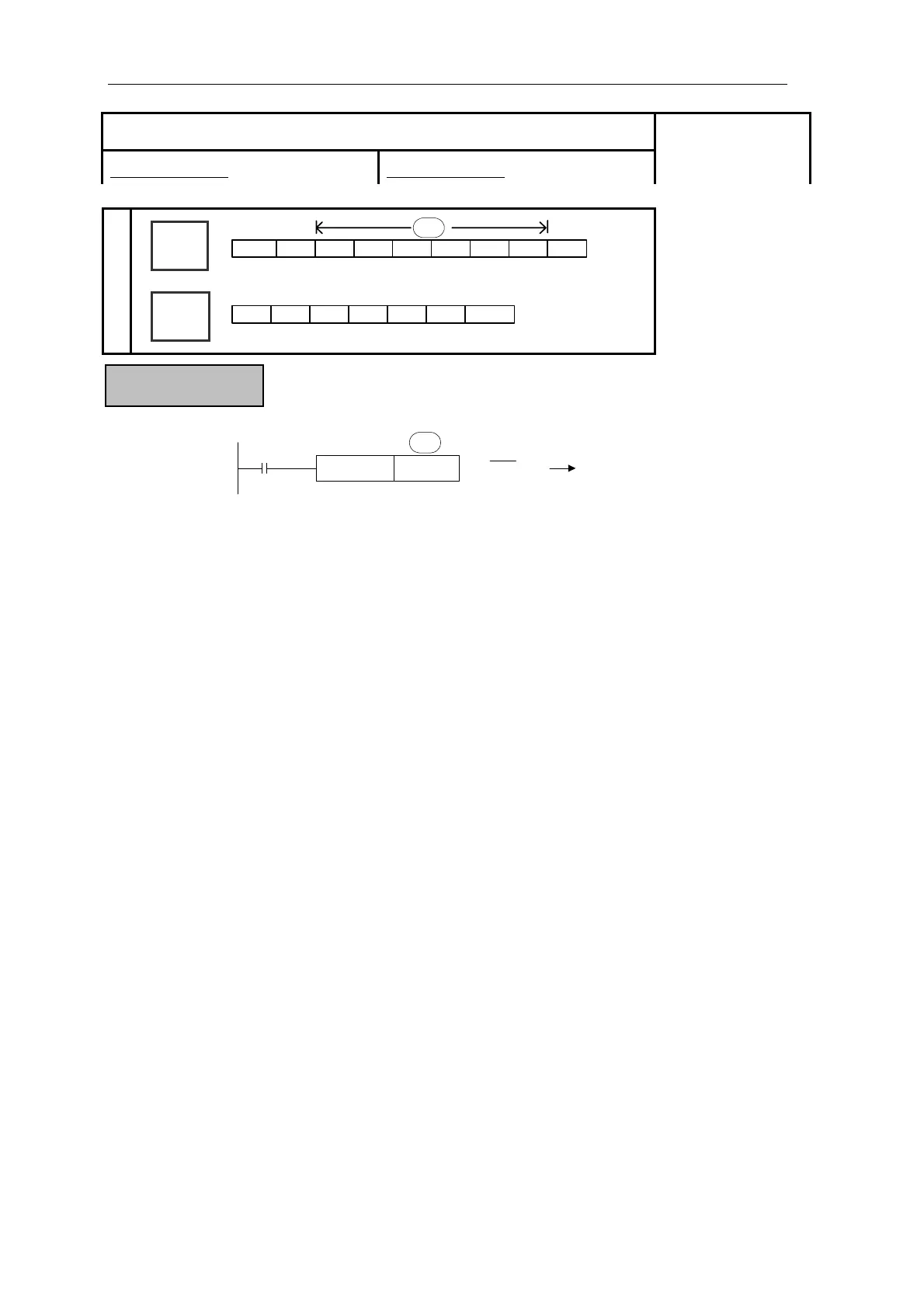
NEG D10 (D10) +1 (D10)
X0
Function & Action
z The bit format of the selected device is inverted, I.e. any occurrence of a “1’
becomes a “0” and any occurrence of “0” becomes “1”, when this is complete, a
further binary 1 is added to the bit format. The result is the total logic sigh change of
the selected devices contents.
[NEG]
16 bits instructionNEG 32 bits instructionDNEG
Suitable Models
XC1XC3XC5
¾
Word
Device
Bit
Device
X
Y
M
S
T
C
Dn.m
D
FD
DM
DX
DY
DS
TD
CD
K/H

Table of Contents

Related product manuals