EasyManua.ls Logo

Thinget XC3-60T-E - Disposal of Relay Output Circuit

Default Icon
283 pages
Print Icon
To Next Page IconTo Next Page
To Next Page IconTo Next Page
To Previous Page IconTo Previous Page
To Previous Page IconTo Previous Page
Loading...
Spec., Input/output and layout
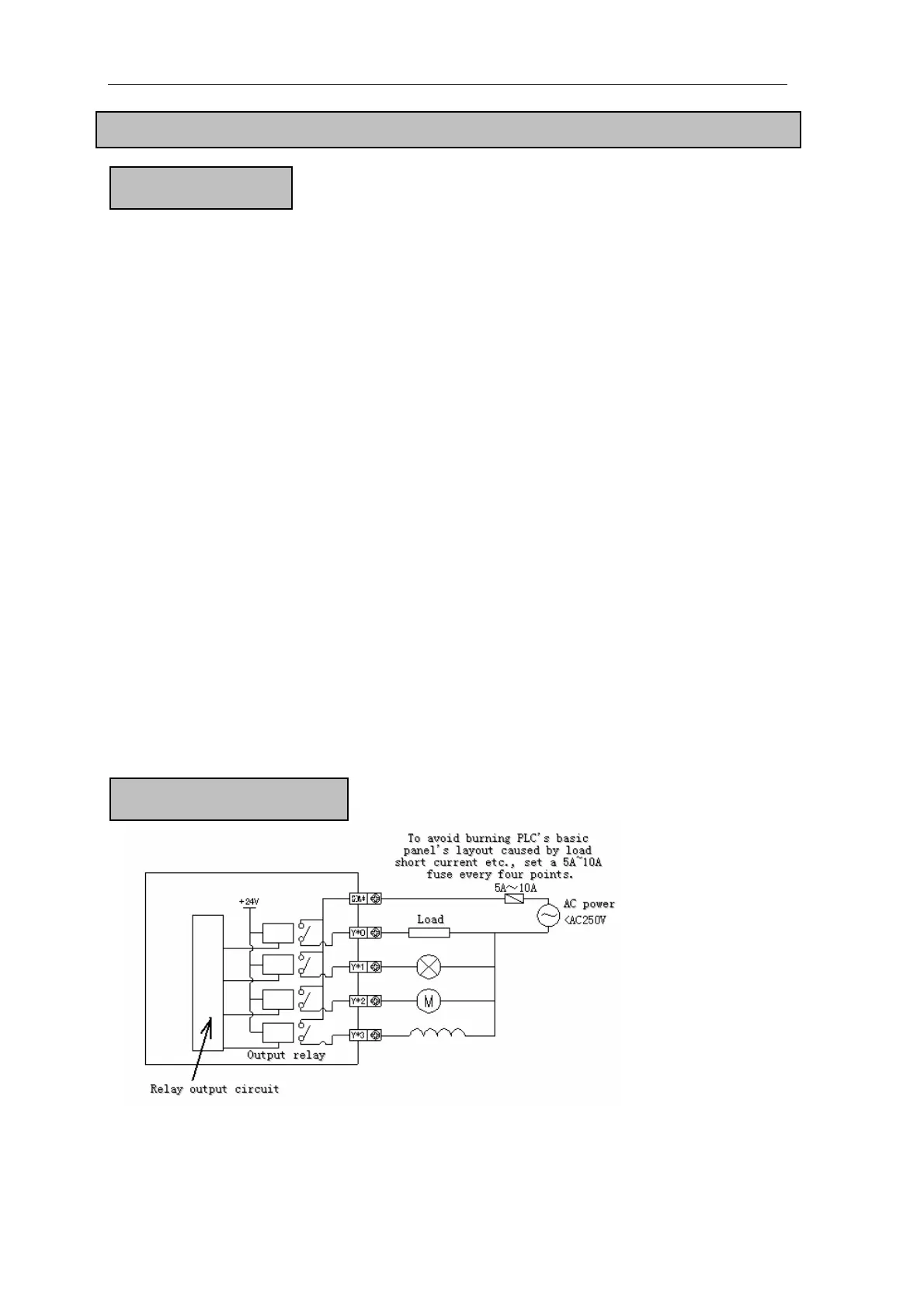
2-6. Disposal of Relay Output Circuit
z Output terminals
Relay output type includes 2~4 public terminals. So each public-end unit can drive different
power-voltage system’s (E.g.AC200VAC100VDC24V etc.) load.
z Circuit’s insulation
Between the relay output coils and contactsPLC’s interior circuits and exterior circuits, load
circuits are electric insulation. Besides, each public-end blocks are separate.
z Action display
LED lamp lights when output relay’s coils galvanize, output contacts are ON.
z Response time
From the output relay galvanize (or cut) to the output contacts be ON (or OFF), the response time is
about 10ms
z Output current
The current-voltage below AC250V can drive the load of pure resistace 2A/1 pointinductance load
below 80VAAC100V or AC200V and lam load below 100WAC100V or AC200V.
z Open circuit’s leak current
When the output contact be OFF and there’s no leak currentcan directly drive Ne lamp etc.
z The life of relay output contacts
Standard life of induce AC load such as cont ctorelectromagnetism valve5 million times for
20VA load. Cut power device’s life according t the company’s test: for 80VA load, the action life is
up to 2 million times. But if the load parallel nnect with surge absorber, the life will be greatly
improved!
Relay output circuit
Output connection example
p
a
o
co
27

Table of Contents

Related product manuals