EasyManua.ls Logo

Thinget XC3-60T-E - [Inc] & [Dec]

Default Icon
283 pages
Print Icon
To Next Page IconTo Next Page
To Next Page IconTo Next Page
To Previous Page IconTo Previous Page
To Previous Page IconTo Previous Page
Loading...
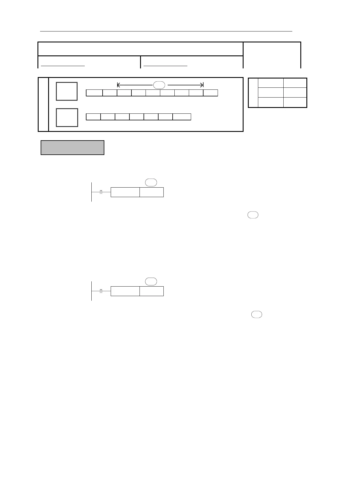
Applied Instructions
INC D0
X0
DEC D0
X1
Function & Action
D0)+1(D0)
D0)-1(D0)
z On every execution of the instruction the device specified as the destination has its
current value incremented (increased) by a value of 1.
z In 16 bits operation, when +32767 is reached, the next increment will write -32767 to
the destination device. In this case, there’s no additional flag to identify this change in the
counted value.
z On every execution of the instruction the device specified as the destination has its
current value decremented (decreased) by a value of 1.
z When -32768 or -2147483648 is reached, the next decrement will write +32767
or +2147483647 to the destination device.
1Increment [INC]
2Decrement [DEC]
[INC] & [DEC]
16 bits instructionINCDEC 32 bits instructionDINCDDEC
Suitable Models:
XC1XC3XC5
Zero M8020
Borrow M8021
Flag
Carry M8022
¾
Word
Device
Bit
Device
X
Y
M
S
T
C
Dn.m
D
FD
DM
DX
DY
DS
TD
CD
K/H
95

Table of Contents

Related product manuals