EasyManua.ls Logo

Toa DP-0202 - TOA Corporation; Appearance

Toa DP-0202
12 pages
Print Icon
To Previous Page IconTo Previous Page
To Previous Page IconTo Previous Page
Loading...
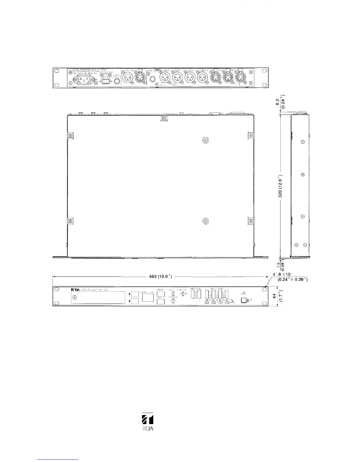
11. APPEARANCE
TOA
Corporation
Printed
in
Japan
133-12-288-2A

Related product manuals