EasyManua.ls Logo

Toa DP-0202 - [Rear Panel]

Toa DP-0202
12 pages
Print Icon
To Next Page IconTo Next Page
To Next Page IconTo Next Page
To Previous Page IconTo Previous Page
To Previous Page IconTo Previous Page
Loading...
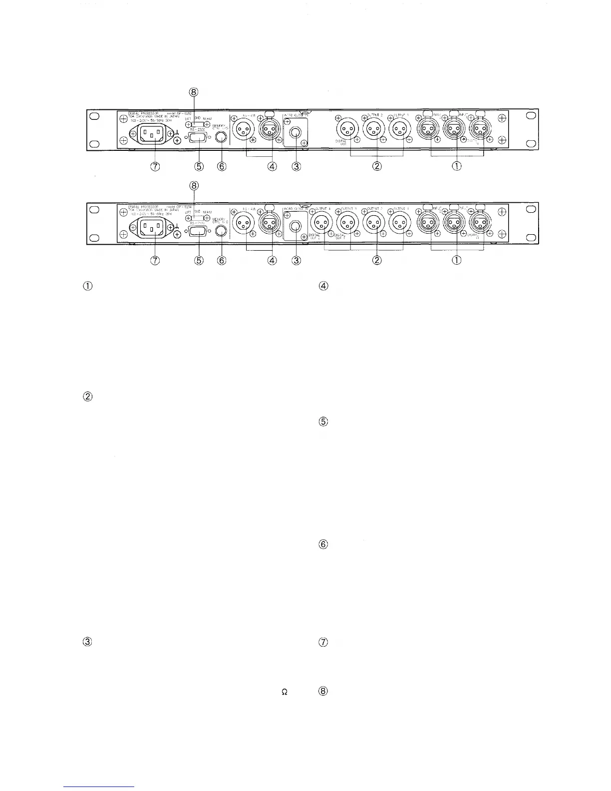
[REAR PANEL]
DP-0202
DP-0204
Input connector [DIGITAL IN, INPUT 1, 2]
An electronically-balanced XLR connector. Both The
DP-0202 and DP-0204 have two input channels for
each digital and analog signals. "DIGITAL IN", and
"INPUT 1" and "INPUT 2" (both for analog signals) are
provided for the inputs. The AES/EBU format is
employed in the digital input, allowing two-channel
transmission.
Output connector
[DIGITAL OUT 1, 2 OUTPUT 1,2, 3,4]
An electronically-balanced XLR connector. The
DP-0202 has two output channels, while the DP-0204
has four output channels.
DP-0202
The outputs are "OUTPUT 1" and "OUTPUT 2" (both for
analog signals), and "DIGITAL OUT". The AES/EBU format
is employed in the digital output, allowing 2-channel
transmission.
DP-0204
The outputs are "OUTPUT 1" through "OUTPUT 4" (all for
analog signals), and "DIGITAL OUT1" and "DIGITAL OUT
2".
Digital output 1 corresponds to signals of analog outputs 1
and 2, while digital output 2 corresponds to signals of
analog outputs 3 and 4.
Word clock input connector [WORD CLOCK IN]
A BNC connector for clock input which allows external
control of internal signal processing. This connector can
only be used when the word clock switch located in the
front pocket is set to "EXT". The impedance is 75
level is a TTL level.
RS-485 communications port [RS-485]
A 3-pin XLR connector for RS-485 communications.
This connector can only be used when the
communications port selection switch located in the
front pocket is set to "RS-485". When simultaneously
controlling two or more units, use this port and connect
each unit in turn. A mode conversion adaptor is
required because data are usually transmitted from a
personal computer in RS-232C mode. For details, refer
to p. 6 "6. PERSONAL COMPUTER CONNECTIONS".
RS-232C communications port [RS-232C]
A 9-pin D-SUB connector for RS-232C communications.
This connector can only be used when the
communications port selection switch located in the
front pocket is set to "RS-232C". This connector is
connected in parallel to the D-SUB connector for
RS-232C in the pocket, and is valid only when
controlling a single unit. For details, refer to p. 6
"6. PERSONAL COMPUTER CONNECTIONS".
Memory I/O connector [MEMORY CTRL I/O]
This connector allows external remote pattern memory
control, as well as output of memory selection status to
external equipment. Remote control is accomplished by
make contact, and the 5V logic output is used for
external output. For details, refer to p. 9 "8. USING THE
MEMORY I/O CONNECTOR".
Power inlet
Connect the power cord included with the unit to this
inlet.
Ground loop break switch [GND]
This switch, when set to "LIFT" position, breaks a
hum-generating ground loop formed when the unit is
connected to external components. Normally, set this
switch to "NORM" position.
and
5

Related product manuals