EasyManua.ls Logo

Toa DP-0202 - Nomenclature and Functions [Front Panel]

Toa DP-0202
12 pages
Print Icon
To Next Page IconTo Next Page
To Next Page IconTo Next Page
To Previous Page IconTo Previous Page
To Previous Page IconTo Previous Page
Loading...
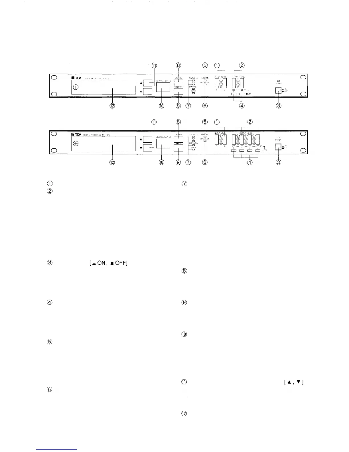
5. NOMENCLATURE AND FUNCTIONS
[FRONT PANEL]
DP-0202
DP-0204
Input level meter [INPUT LEVEL]
Output level meter [OUTPUT LEVEL]
These meters display the I/O levels. The topmost point
is a digital full scale (clipping point), and is +24dB in
terms of analog. The dynamic range of indication is
60dB. Adjust the volume control to a point where
program source dynamic peaks remain just within the
range of the level indicator LEDs and do not cause the
clipping indicator to flash on.
Power switch
Set this switch to ON and the processor starts operating
in the status it was in just before the power was last
turned OFF. The power LED lamp lights at this time.
Muting button [MUTE]
This button is used to disconnect output signals to stop
sound. If this button is pressed, the output is muted and
its corresponding LED lamp lights.
Master unit indicator [MASTER]
The unit in which the ID number is set to "1" (LED lamp
lights) functions as a master unit when switching
between stored information. For details, refer to p.8
"7. UNIT ID NUMBER SETTING".
Overflow indicator [OVERFLOW]
This lamp lights when the internal digital signal
processor overflows for equalizing or filtering operation.
Digital input signal operation indicators
DIGITAL IN : Lights when the input mode is set for
digital signal.
RUN : Lights when a digital signal is input
correctly.
EMPHASIS : Lights when EMPHASIS information is
received.
ERROR : Lights when there is an error in digital
signals.
Memory call key [MEMORY]
This key is used to recall the memory pattern selected
with the memory/unit number selection key.
Unit ID number indication key [UNIT ID]
This key is used to show the unit ID number on the
display.
Memory/unit ID number display
[MEMORY/UNIT ID]
Either the memory number or unit ID number is
displayed. Usually, the selected memory number is
displayed.
Memory/unit ID number selection key
The memory number or unit ID number can be selected
with the UP and DOWN keys.
Pocket cover
3

Related product manuals