EasyManua.ls Logo

Toa P-150D - Page 15

Toa P-150D
29 pages
Print Icon
To Next Page IconTo Next Page
To Next Page IconTo Next Page
To Previous Page IconTo Previous Page
To Previous Page IconTo Previous Page
Loading...
P-300D
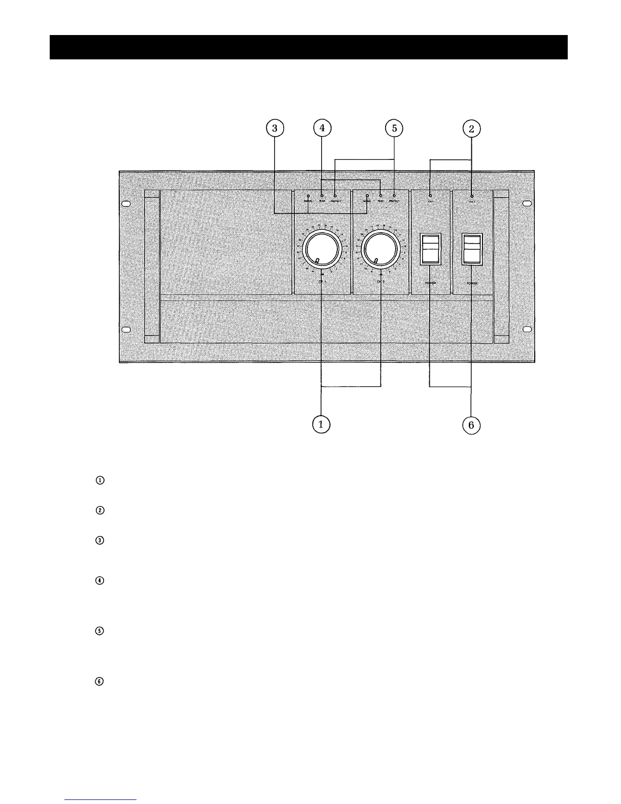
Input Attenuators
Calibrated in dB, detented input attenuators decrease input signal levels before the amplifier stage.
Power Indicator LED
The green LED glows when the power switch is "on".
Signal Presence Indicator LED's
The LED's glow when more than —30dB level signal is fed to the inputs regardless of the input attenuator
setting and output power level.
Peak Indicator LED's
The peak indicator LED will glow when the amplifier reaches just below clipping. It is quite common for
the LED to flash on and off during high level operation. However, if the LED remains steadily lighted, the
input attenuator level should be lowered until the LED only flashes at the highest peaks.
Protection Indicator LED's
These LED's remain lit for 3 seconds after the power switch has been turned on. They also come on when
the protection circuit is activated, and flash when the temperature of the heat sinks exceeds 105°C. See
Table "Fault Protection" on page 26.
Circuit Breaker Power Switch
This switch is a combination circuit breaker and a power mains ON/OFF switch. If the circuit breaker
trips, it may be reset by first setting to the "OFF" position and then returning to the "POWER ON"
position, always check the amplifier and associated wiring before resetting the circuit breaker.
- 14 -
Front Panel

Related product manuals