EasyManua.ls Logo

Toa P-300D - Front Panel

Toa P-300D
29 pages
Print Icon
To Next Page IconTo Next Page
To Next Page IconTo Next Page
To Previous Page IconTo Previous Page
To Previous Page IconTo Previous Page
Loading...
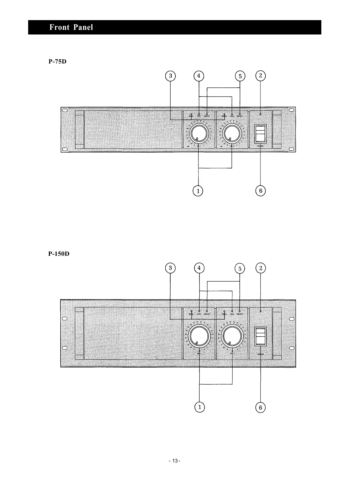
P-75D
P-150D
- 13 -
Front Panel
All manuals and user guides at all-guides.com

Related product manuals