EasyManua.ls Logo

Topcom BPM WRIST 2000 - Einstellen von Datum und Uhrzeit

Topcom BPM WRIST 2000
140 pages
Print Icon
To Next Page IconTo Next Page
To Next Page IconTo Next Page
To Previous Page IconTo Previous Page
To Previous Page IconTo Previous Page
Loading...
32
TOPCOM BPM Wrist 2000
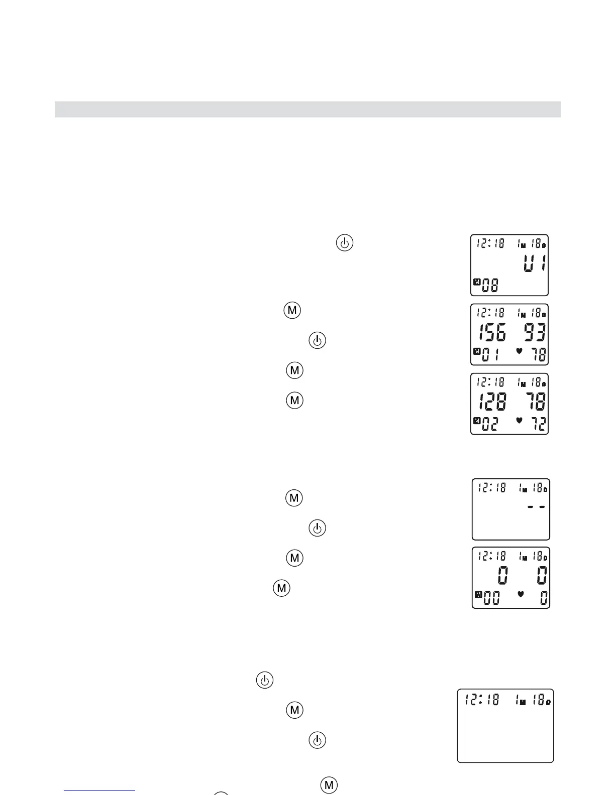
8.3 Speicher
Das BPM Wrist 2000 hat drei Speicherzonen. Jede kann bis zu 40
Messungen einschließlich Datum und Uhrzeit speichern.
Das Ergebnis wird automatisch in der ausgewählten Speicherzone
gespeichert.
Wählen Sie die gewünschte Speicherzone vor dem Messen und
nach dem Drücken der START/STOPP-Taste .
Um die Messwerte wieder aufzurufen:
Wird die Uhrzeit angezeigt:
Drücken Sie die SPEICHER-Taste , um den Speichermodus
aufzurufen.
Drücken Sie die START/STOPP-Taste , um die gewünschte
Speicherzone zu wählen.
Drücken Sie die SPEICHER-Taste , um das letzte
Messergebnis anzuzeigen.
Drücken Sie die SPEICHER-Taste wiederholt, um die
gespeicherten Werte abzurufen.
Nachdem der älteste Wert angezeigt wurde, schaltet das Gerät
zurück zur aktuellen Uhrzeit.
Um alle Daten einer Speicherzone zu löschen:
Drücken Sie die SPEICHER-Taste , um den Speichermodus
aufzurufen.
Drücken Sie die START/STOPP-Taste , um die gewünschte
Speicherzone zu wählen.
Drücken Sie die SPEICHER-Taste , um das letzte
Messergebnis anzuzeigen.
Halten Sie die SPEICHER-Taste 3 Sekunden lang gedrückt,
um alle Einträge der gewählten Speicherzone zu löschen.
8.4 Einstellen von Datum und Uhrzeit
Um Datum und Uhrzeit einzustellen:
Drücken Sie START/STOPP- und SPEICHER-Taste
gleichzeitig. Der Monat blinkt im Display.
Drücken Sie die SPEICHER-Taste wiederholt, um den
Monat einzustellen.
Drücken Sie die START/STOPP-Taste , um die
Monatseinstellung zu bestätigen. Der Tag blinkt im Display.
Stellen Sie Tag, Stunden und Minuten wie oben beschrieben
ein, indem Sie mit der SPEICHER-Taste die Einstellungen ändern und mit der
START/STOPP-Taste jede Einstellung bestätigen.
Nach Einstellen der Minuten ist das Gerät wieder betriebsbereit.

Table of Contents

Related product manuals