EasyManua.ls Logo

Topcom BPM WRIST 2000 - Indstilling Af Klokkeslæt

Topcom BPM WRIST 2000
140 pages
Print Icon
To Next Page IconTo Next Page
To Next Page IconTo Next Page
To Previous Page IconTo Previous Page
To Previous Page IconTo Previous Page
Loading...
56
TOPCOM BPM Wrist 2000
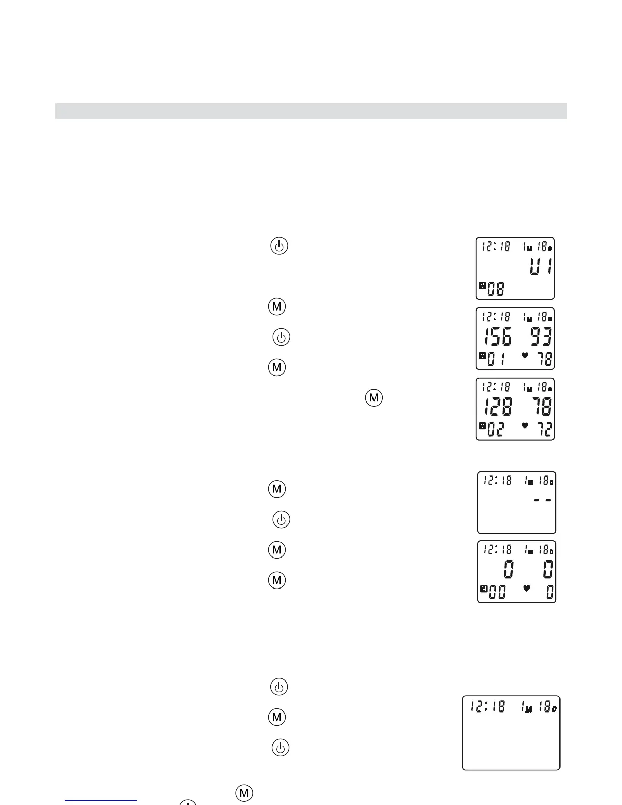
8.3 Hukommelse
BPM Wrist 2000 har 3 hukommelseszoner. Hver zone kan lagre op til
40 målinger inkl. dato og tidspunkt.
Efter målingen lagres resultatet automatisk i den valgte
hukommelseszone.
Vælg den ønskede hukommelseszone før målingen efter at have
trykket på START/STOP-knappen .
Sådan kaldes måleresultater frem:
Når uret vises:
Tryk på hukommelsesknappen for at skifte til
hukommelsestilstand.
Tryk på START/STOP-knappen for at vælge den ønskede
hukommelseszone.
Tryk på hukommelsesknappen for at få vist det seneste
måleresultat.
Tryk gentagne gange på hukommelsesknappen for at få vist
tidligere lagrede værdier.
Når den ældste registrering har været vist, skifter enheden
tilbage til normal visning af klokkeslæt.
Sådan slettes alle data fra en hukommelseszone:
Tryk på hukommelsesknappen for at skifte til
hukommelsestilstand.
Tryk på START/STOP-knappen for at vælge den ønskede
hukommelseszone.
Tryk på hukommelsesknappen for at få vist det seneste
måleresultat.
Tryk på hukommelsesknappen og hold den inde i 3
sekunder for at slette samtlige registreringer fra den valgte
hukommelseszone.
8.4 Indstilling af klokkeslæt
Sådan indstilles dato og klokkeslæt:
Tryk på START/STOP-knappen og hukommelsesknappen
samtidig. Måneden blinker i displayet.
Tryk på hukommelsesknappen gentagne gange for at
ændre måneden.
Tryk på START/STOP-knappen for at bekræfte måneden.
Dagen blinker i displayet.
Indstil dag, timer og minutter som beskrevet ovenfor ved hjælp
af hukommelsesknappen , og bekræft hver enkelt indstilling med START/
STOP-knappen .
Når minutterne er indstillet, kan enheden anvendes.

Table of Contents

Related product manuals