EasyManua.ls Logo

Topcom BPM WRIST 2000 - Inställning Av Tid

Topcom BPM WRIST 2000
140 pages
Print Icon
To Next Page IconTo Next Page
To Next Page IconTo Next Page
To Previous Page IconTo Previous Page
To Previous Page IconTo Previous Page
Loading...
48
TOPCOM BPM Wrist 2000
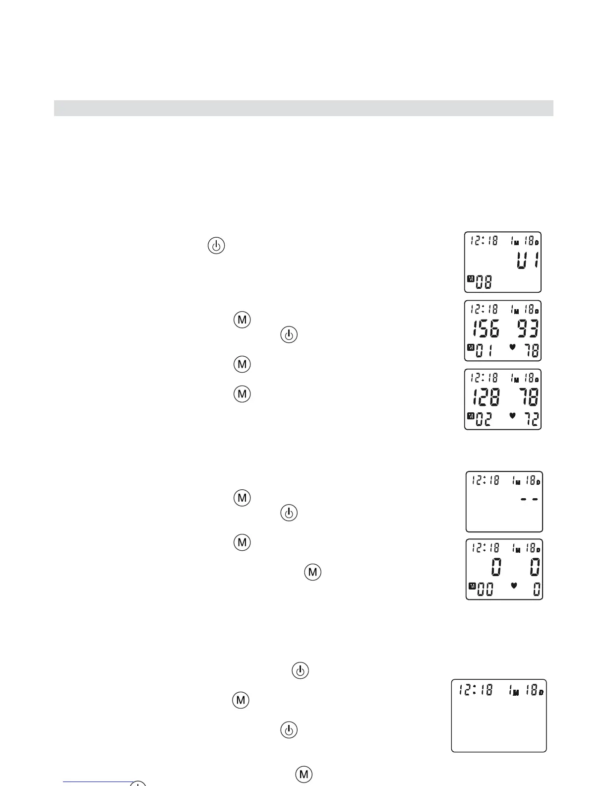
8.3 Minne
BPM Wrist 2000 har 3 minneszoner. Var och en kan spara upp till 40
mätningar, inklusive datum och tid.
Efter mätningen kommer resultatet att sparas automatiskt i den valda
minneszonen.
Välj önskad minneszon innan mätningen efter att du tryckt på
START/STOPP-knappen .
För att visa mätningsresultat:
När klockan visas:
Tryck på knappen MINNE för aktivera minnesläget.
Tryck på knappen START/STOPP och välj önskad
minneszon.
Tryck på knappen MINNE för att se det senaste
mätresultatet.
Tryck på knappen MINNE upprepade gånger för att visa
tidigare lagrade värden.
När det äldsta värdet har visats, växlar enheten tillbaka till
normal tid.
Radera alla data från en minneszon:
Tryck på knappen MINNE för att aktivera minnesläget.
Tryck på knappen START/STOPP och välj önskad
minneszon.
Tryck på knappen MINNE för att se det senaste
mätresultatet.
Tryck på och håll ner knappen MINNE i 3 sekunder för att
radera alla mätvärden ur den valda minneszonen.
8.4 Inställning av tid
Ställa in datum och tid:
Tryck på knapparna START/STOPP och MINNE
samtidigt. Månaden blinkar på displayen.
Tryck på knappen MINNE upprepade gånger för att ändra
månaden.
Tryck på knappen START/STOPP för att bekräfta
månaden. Dagen blinkar på displayen.
Ändra dag, timmar och minuter på samma sätt som ovan,
genom att använda knappen MINNE för att ändra och knappen START/
STOPP för att bekräfta varje inställning.
När du har ställt in minuterna, är enheten klar att användas.

Table of Contents

Related product manuals