EasyManua.ls Logo

Topcom BPM WRIST 2000 - Ajuste de la Hora

Topcom BPM WRIST 2000
140 pages
Print Icon
To Next Page IconTo Next Page
To Next Page IconTo Next Page
To Previous Page IconTo Previous Page
To Previous Page IconTo Previous Page
Loading...
40
TOPCOM BPM Wrist 2000
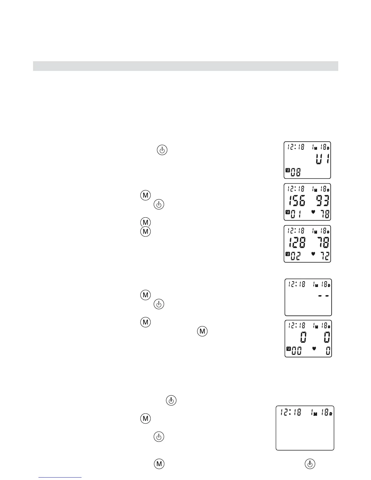
8.3 Memoria
El BPM Wrist 2000 tiene 3 zonas de memoria. Cada una puede
almacenar hasta 40 mediciones, incluidas la fecha y la hora.
El resultado se almacenará automáticamente en la zona de memoria
seleccionada después de la medición.
Seleccione la zona de memoria deseada antes de la medición
pulsando el botón START/STOP .
Para recuperar los resultados de medición:
Cuando se muestra el reloj:
Pulse el botón MEMORY para entrar en el modo Memoria.
Pulse el botón START/STOP para seleccionar la zona de
memoria deseada.
Pulse el botón MEMORY para ver la última medición.
Pulse el botón MEMORY repetidamente para ver los
valores anteriores almacenados.
Después de mostrar el último registro, el dispositivo volverá a la
hora normal.
Para borrar todos los datos de una zona de memoria:
Pulse el botón MEMORY para entrar en el modo Memoria.
Pulse el botón START/STOP para seleccionar la zona de
memoria deseada.
Pulse el botón MEMORY para ver la última medición.
Mantenga presionado el botón MEMORY durante 3
segundos para eliminar todos los registros de la zona de
memoria seleccionada.
8.4 Ajuste de la hora
Para ajustar la fecha y la hora:
Pulse los botones START/STOP y MEMORY
simultáneamente. El mes parpadeará en la pantalla.
Pulse el botón MEMORY sucesivamente para cambiar el
mes.
Pulse el botón START/STOP para confirmar el mes. El
día parpadeará en la pantalla.
Cambie el día, las horas y los minutos como se ha descrito,
utilizando el botón MEMORY para cambiar y el botón START/STOP para
confirmar cada ajuste.
Después de ajustar los minutos, el dispositivo está listo para su uso.

Table of Contents

Related product manuals