EasyManua.ls Logo

Topcom BPM WRIST 2000 - Time Adjustment

Topcom BPM WRIST 2000
140 pages
Print Icon
To Next Page IconTo Next Page
To Next Page IconTo Next Page
To Previous Page IconTo Previous Page
To Previous Page IconTo Previous Page
Loading...
8
TOPCOM BPM Wrist 2000
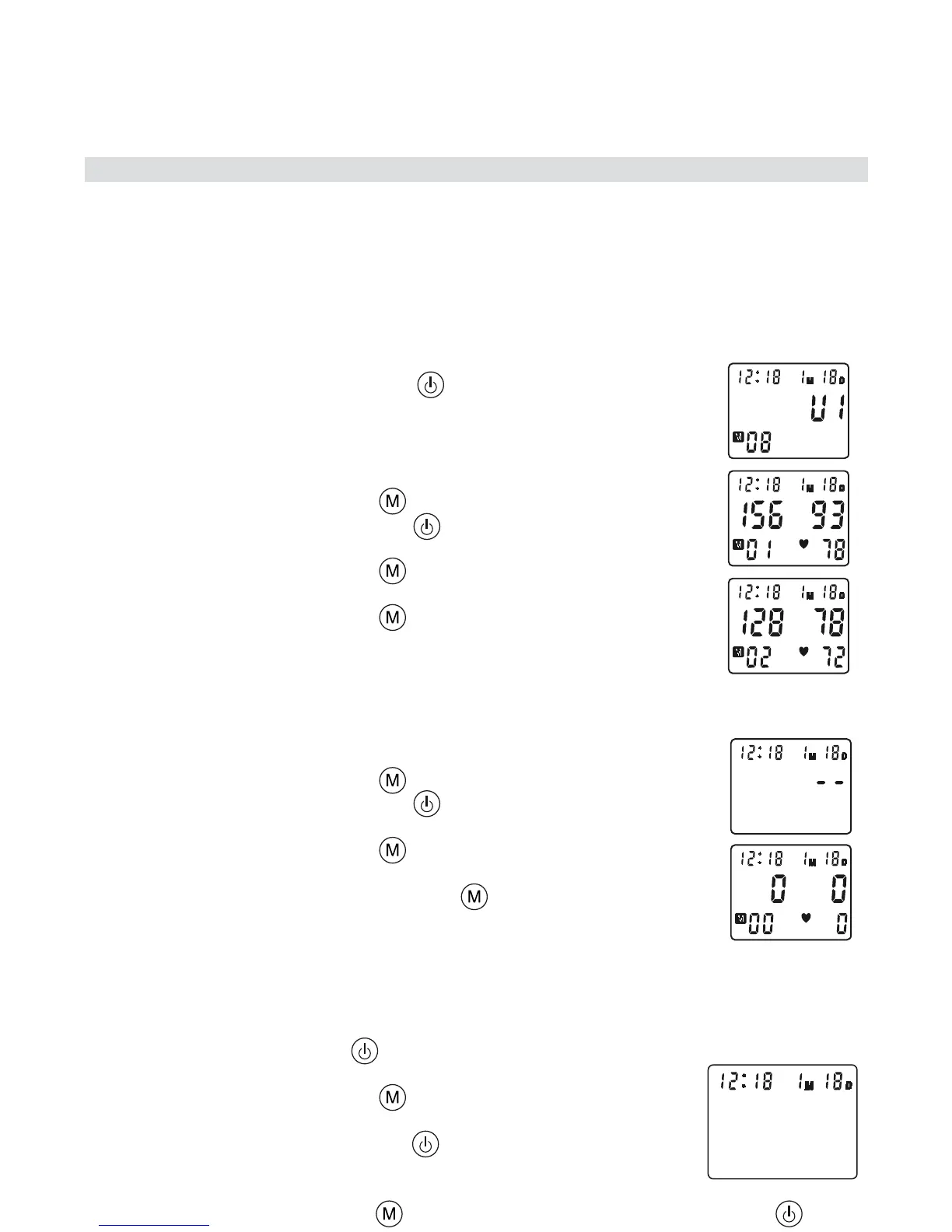
8.3 Memory
The BPM Wrist 2000 has 3 Memory zones. Each can store up to 40
measurements including the date and time
The result will be stored automatically in the selected Memory Zone
after the measurement.
Select the desired Memory Zone before measurement after
pressing the START/STOP button .
To recall measurement results:
When the clock is displayed:
Press the MEMORY button to enter memory mode.
Press the START/STOP button select the desired memory
zone.
Press the MEMORY button to see the last measurement
result.
Press the MEMORY button repeatedly for prior values
stored.
After the oldest record is displayed, the unit will switch back to
normal time.
To erase all data from one memory zone:
Press the MEMORY button to enter memory mode.
Press the START/STOP button select the desired memory
zone.
Press the MEMORY button to see the last measurement
result.
Press and hold the MEMORY button for 3 seconds to erase
all records from the selected memory zone.
8.4 Time adjustment
To adjust the date an time:
Press the START/STOP and MEMORY button
simultaneously. The month will blink on the display.
Press the MEMORY button successively to change the
month.
Press the START/STOP button to confirm the month. The
day will blink on the display.
Change the day, hours and minutes as described above,
using the MEMORY button to change and the START/STOP button to
confirm every setting.
After setting the minutes, the device is ready to use.

Table of Contents

Related product manuals