EasyManua.ls Logo

Topcom BPM WRIST 2000 - Stille Klokken

Topcom BPM WRIST 2000
140 pages
Print Icon
To Next Page IconTo Next Page
To Next Page IconTo Next Page
To Previous Page IconTo Previous Page
To Previous Page IconTo Previous Page
Loading...
64
TOPCOM BPM Wrist 2000
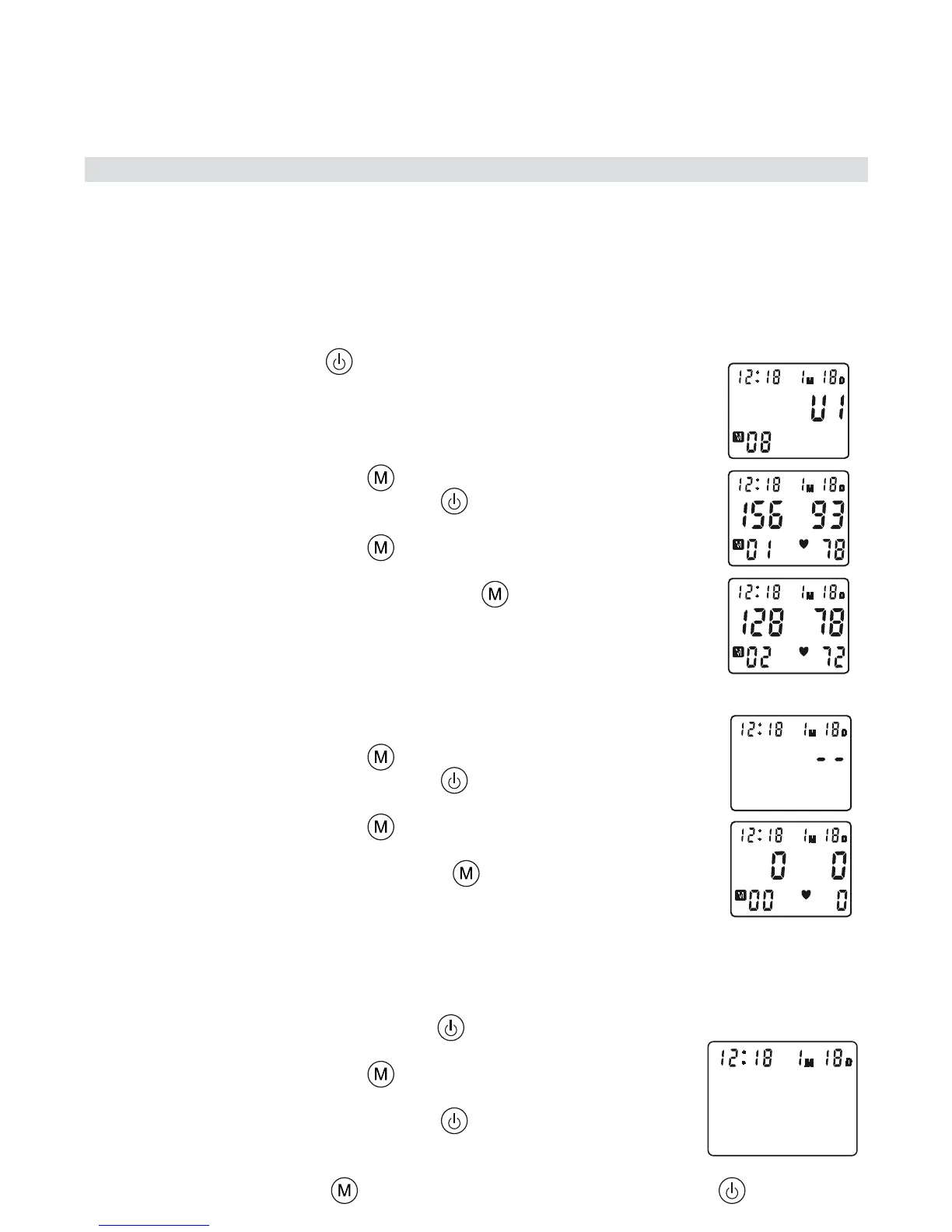
8.3 Minne
BPM Wrist 2000 har 3 minnesoner. Hver sone kan lagre opptil 40
målinger inkludert dato og klokkeslett.
Resultatet lagres automatisk i den valgte minnesonen etter måling.
Velg ønsket minnesone før måling etter at du har trykket på
START/STOPP-knappen .
Slik henter du frem måleresultater:
Hvis klokkeslettet vises:
Trykk på MINNE-knappen for å starte minnemodus.
Trykk på START/STOPP-knappen for å velge ønsket
minnesone.
Trykk på MINNE-knappen for å vise resultatet fra den siste
målingen.
Trykk flere ganger på MINNE-knappen for å se tidligere
resultater som er lagret.
Når den eldste oppføringen er vist går apparatet tilbake til
visning av klokkeslett.
Slik sletter du alle data fra en minnesone:
Trykk på MINNE-knappen for å starte minnemodus.
Trykk på START/STOPP-knappen for å velge ønsket
minnesone.
Trykk på MINNE-knappen for å vise resultatet fra den siste
målingen.
Trykk og hold inne MINNE-knappen i 3 sekunder for å slette
alle oppføringer fra den valgte minnesonen.
8.4 Stille klokken
Slik stiller du dato og klokkeslett:
Trykk samtidig på START/STOPP og MINNE-knappen.
Måneden blinker på displayet.
Trykk på MINNE-knappen flere ganger for å endre
måneden.
Trykk på START/STOPP-knappen for å bekrefte
måneden. Dagen blinker på displayet.
Endre dagen, timene og minuttene som beskrevet ovenfor.
Bruk MINNE-knappen til å endre og START/STOPP-knappen til å bekrefte
hver innstilling.
Når du har stilt inn minuttene, er blodtrykksmonitoren klar til bruk.

Table of Contents

Related product manuals