EasyManua.ls Logo

Topcon ES-103 - 35.2 Tilt Sensor Check and Adjustment

Topcon ES-103
324 pages
Print Icon
To Next Page IconTo Next Page
To Next Page IconTo Next Page
To Previous Page IconTo Previous Page
To Previous Page IconTo Previous Page
Loading...
277
35. CHECKS AND ADJUSTMENTS
Select “Tilt X Y” and press {ENT}
to display the tilt angle in the X
(sighting) direction and Y
(horizontal axis) direction.
4. Wait a few seconds for the display
to stabilize, then read the
automatically compensated
angles X1 and Y1.
5. Loosen the horizontal clamp and
turn the instrument 180° while
referring to the displayed
horizontal angle, then retighten
the clamp.
6. Wait a few seconds for the display
to stabilize, then read the
automatically compensated
angles X2 and Y2.
7. In this state, calculate the
following offset values (tilt zero
point error).
Xoffset = (X1+X2)/2
Yoffset = (Y1+Y2)/2
If one of the offset values (Xoffset,
Yoffset) exceeds ±20", adjust the
value using the following
procedure.
When the offset value falls within
the range ±20", adjustment is not
necessary.
Press {ESC} to return to <Instr.
const>.
PROCEDURE Adjustment
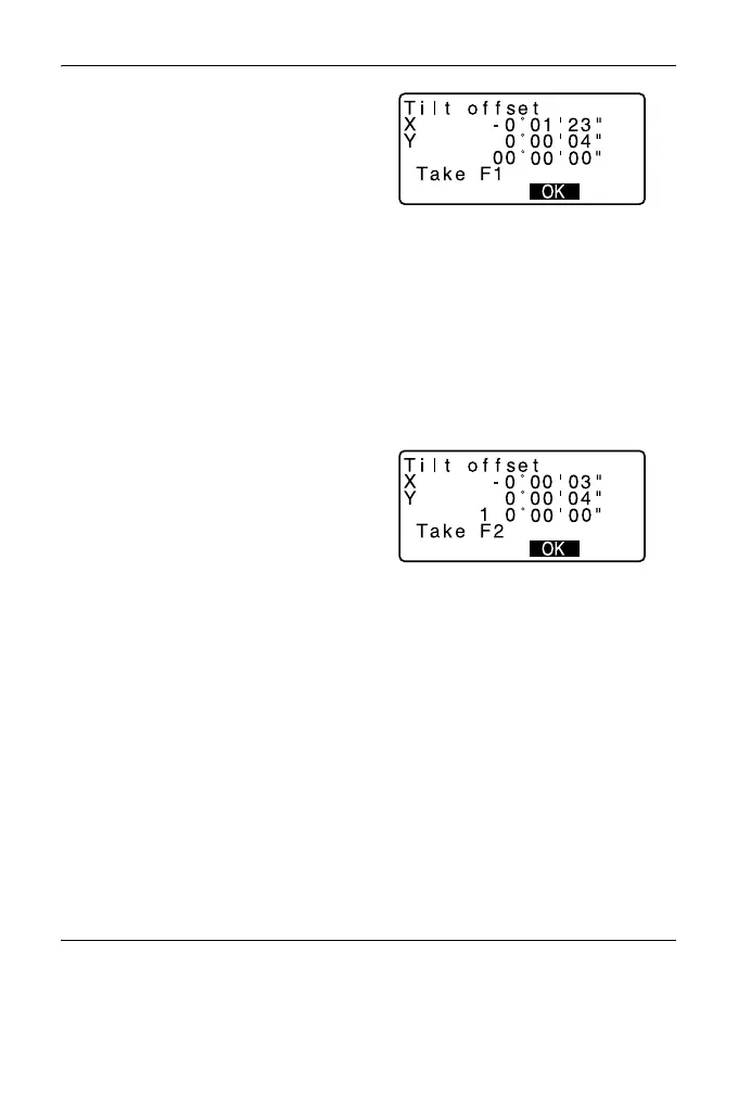
8. Store values X2 and Y2.
Press [OK]. “Take F2” is
displayed.
HA-R
8
HA-R

Table of Contents

Related product manuals