EasyManua.ls Logo

TorcUP EP500 - Page 31

TorcUP EP500
38 pages
Print Icon
To Next Page IconTo Next Page
To Next Page IconTo Next Page
To Previous Page IconTo Previous Page
To Previous Page IconTo Previous Page
Loading...
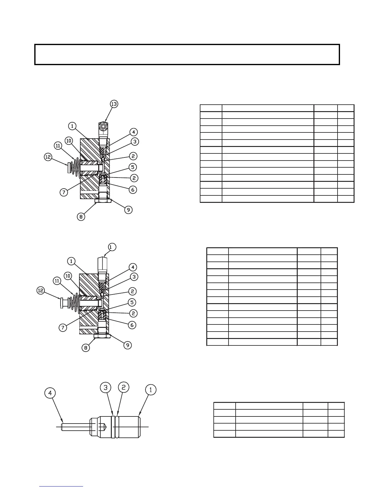
SUB COMPONENT ASSEMBLIES
EP500
(45533) PISTON BLK ASM.
ITEM # DESCRITPION PART # QTY.
01 GEN II PISTON BLOCK 45539 1.00
02 BALL 1/8" 90906 2.00
03 SPRING 66042 1.00
04 BALL STOP 68810 1.00
05 BALL RETAINER 66043 1.00
06 INTAKE SEAT 66046 1.00
07 GASKET 29/64 X 5/8 1.00
08 PLUG PISTON BLOCK 68825 1.00
09 GASKET 25/64X19/32 1.00
10 ADAPTER-.290 PISTON 68820 1.00
11 SPRING, PISTON 68340 1.00
12 PISTON-.290 DIA 68819 1.00
13 MALE TEE 1/8" PIPE 1/4" TUBE 45426 1.00
(45538) PISTON BLK ASM.
13
ITEM # DESCRIPTION PART # QTY.
01 PISTON BLOCK 45539 1.00
02 BALL 1/8" 90906 2.00
03 SPRING 66042 1.00
04 BALL STOP 68810 1.00
05 BALL RETAINER 66043 1.00
06 INTAKE SEAT 66046 1.00
07 GASKET 29/64 X 5/8 1.00
08 PLUG PISTON BLOCK 68825 1.00
09 GASKET 25/64X19/32 1.00
10 ADAPTER-.290 PISTON 68820 1.00
11 SPRING, PISTON 68340 1.00
12 PISTON 0.290" DIA. 45425 1.00
13 MALE ELBOW 1/8 PIPE 69354 1.00
(43687) UNLOADING PISTON ASM.
ITEM # DESCRITPION PART # QTY.
01 UNLOAD PISTON 68209 1.00
02 O RING 1/4X3/8 1.00
03 BACK-UP WASHER 68145 1.00
04 DOWEL PIN 1/8X3/4 LG 43686 1.00
*
*
*
*
*
REBUILD KIT ( *= COMPONENTS) -- PART # 54487
30/37

Related product manuals