EasyManua.ls Logo

Toro 75742 - Adjusting the Height of Cut; Adjusting the Anti-Scalp Rollers

Toro 75742
56 pages
Print Icon
To Next Page IconTo Next Page
To Next Page IconTo Next Page
To Previous Page IconTo Previous Page
To Previous Page IconTo Previous Page
Loading...
AdjustingtheHeightofCut
Note:Thetransportpositionisthehighest
height-of-cutpositionorcuttingheightat114mm
(4-1/2inches)asshowninFigure22.
Heightofcutiscontrolledbytheleverlocatedtothe
rightoftheoperatingposition(Figure22).
g296586
Figure22
AdjustingtheAnti-Scalp
Rollers
Wheneveryouchangetheheightofcut,adjustthe
heightoftheanti-scalprollers.
Note:Adjusttheanti-scalprollerssothattherollers
donottouchthegroundinnormal,atmowingareas.
1.Parkthemachineonalevelsurface,disengage
theblade-controlswitch,andmovethe
motion-controlleversoutwardtothePARK
position.
2.Shutofftheengine,removethekey,andwait
forallmovingpartstostopbeforeleavingthe
operatingposition.
3.Adjusttheanti-scalprollersto1ofthefollowing
positions:
Upperhole—usethispositionwiththemower
deckinthe63mm(2-1/2inches)andbelow
theheight-of-cutpositions(Figure23).
Lowerhole—usethispositionwiththemower
deckinthe76mm(3inches)andabovethe
height-of-cutpositions(Figure23).
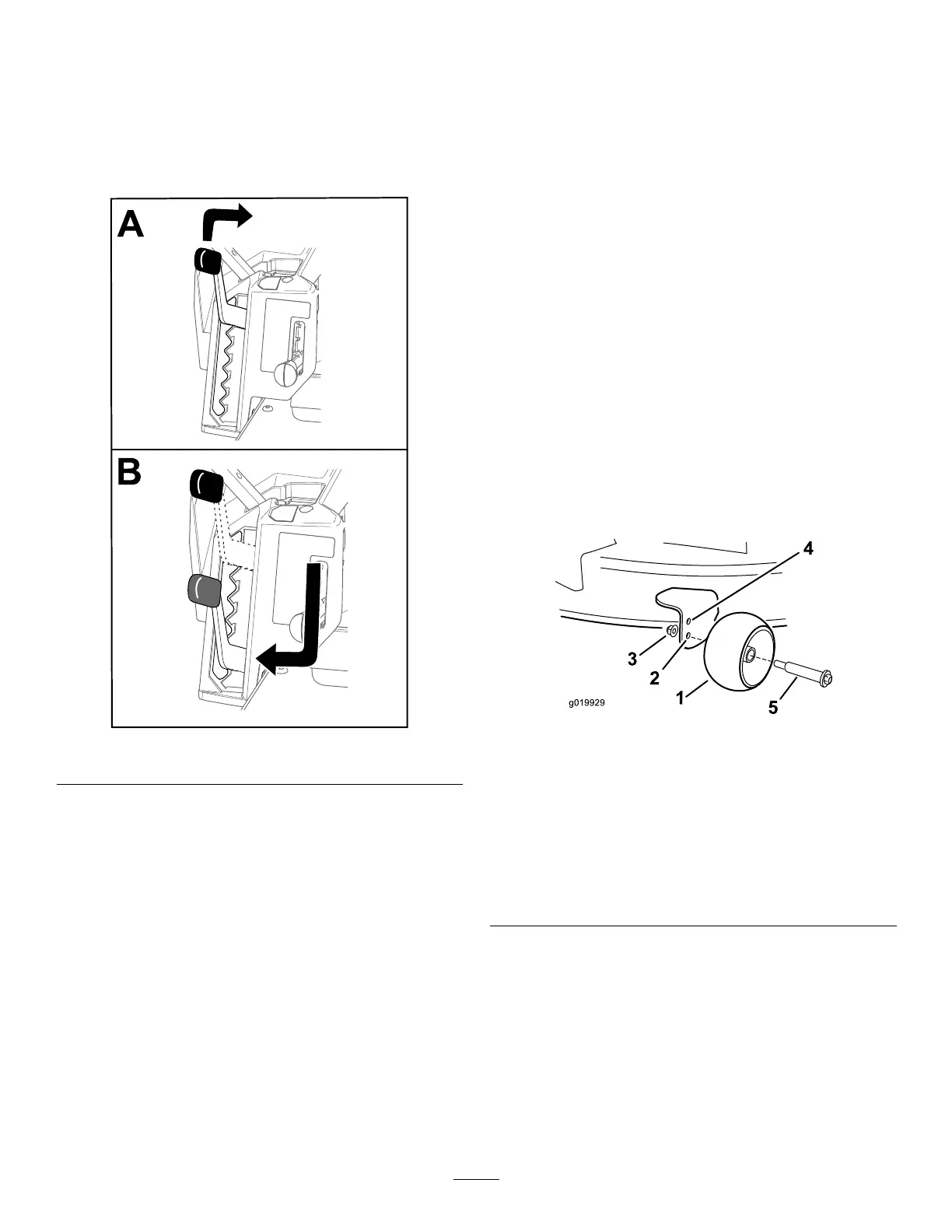
g019929
Figure23
1.Anti-scalproller4.Upperhole—themower
deckinthe63mm(2-1/2
inches)andbelowthe
height-of-cutpositions
2.Lowerhole—themower
deckinthe76mm(3
inches)andabovethe
height-of-cutpositions
5.Bolt
3.Flangenut
22

Table of Contents

Related product manuals