EasyManua.ls Logo

TP-Link MC111CS - Page 16

TP-Link MC111CS
20 pages
Print Icon
To Next Page IconTo Next Page
To Next Page IconTo Next Page
To Previous Page IconTo Previous Page
To Previous Page IconTo Previous Page
Loading...
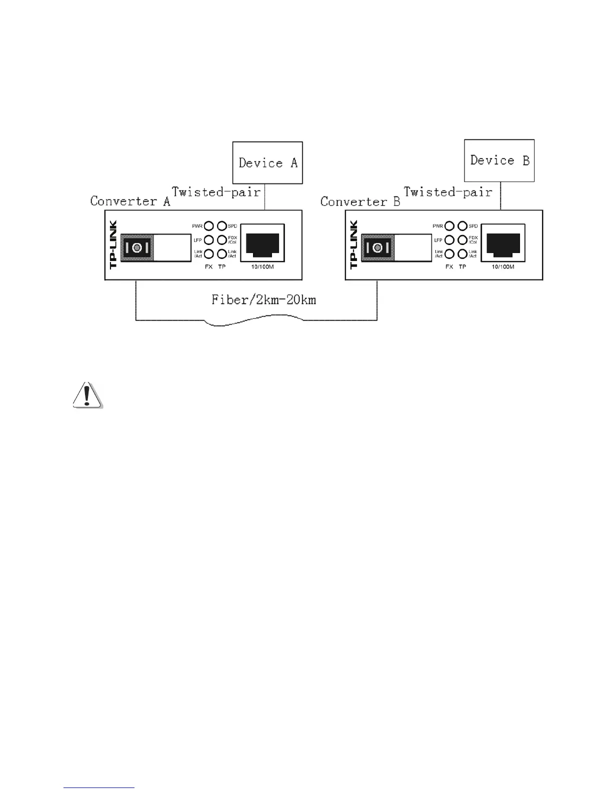
2. T
he SC fiber connector of MC112CS transmits data by 1310nm
short wave laser while receives data by 1550nm short wave laser
on one single-mode fiber.
T
ransmits and receives data on the same fiber
Note:
You have to use MC111CS and MC112CS at the same time to
cooperate.
10

Related product manuals