EasyManua.ls Logo

Trane 2TWB0012-036AA - Mounting Hole Location

Trane 2TWB0012-036AA
8 pages
Print Icon
To Next Page IconTo Next Page
To Next Page IconTo Next Page
To Previous Page IconTo Previous Page
To Previous Page IconTo Previous Page
Loading...
18-BC52D5-5 7
Installer’s Guide
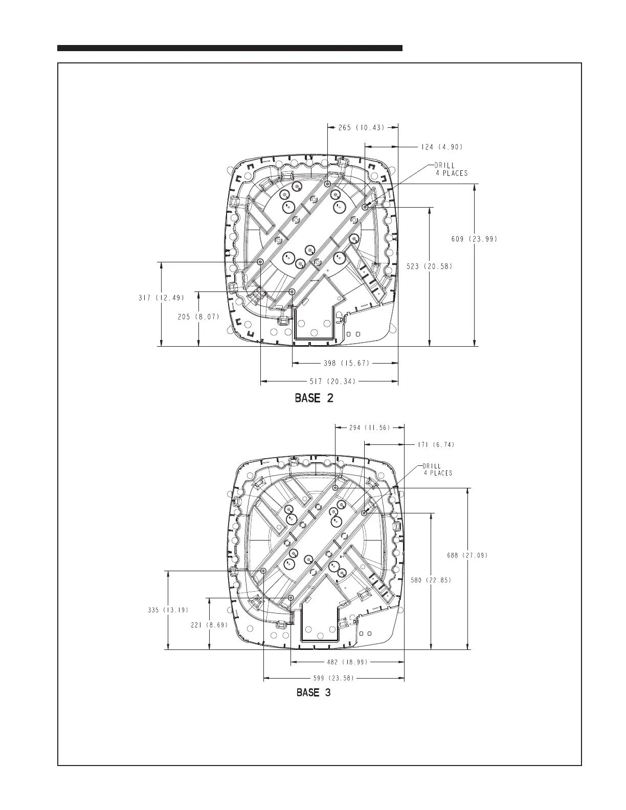
MOUNTING HOLE LOCATION
Note: All dimensions are in MM (Inches).
NOTE: For model base size,
see table on page 6.
From Dwg. 21D152989 Rev. 0

Related product manuals