EasyManua.ls Logo

Trane CVHE - Evaporator; Waterbox and Tubesheet Protective; Coatings; Sacrificial Anodes

Trane CVHE
100 pages
Print Icon
To Next Page IconTo Next Page
To Next Page IconTo Next Page
To Previous Page IconTo Previous Page
To Previous Page IconTo Previous Page
Loading...
88
CVHE-SVX02M-EN
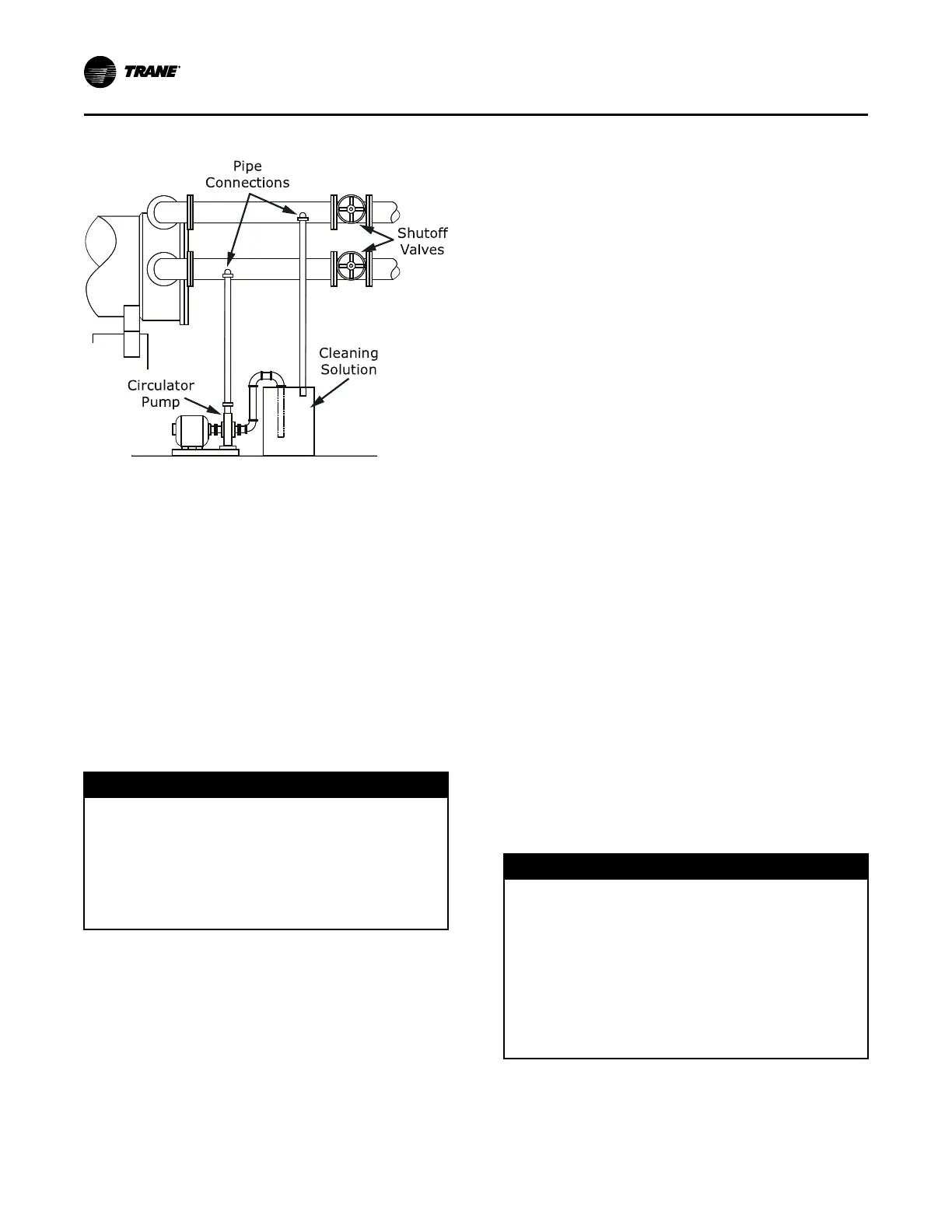
Figure 59. Typical chemical cleaning setup
1. Follow all instructions in “Waterbox Removal and
Installation,” p. 89 to remove waterbox covers.
2. Work a round nylon or brass bristled brush
(attached to a rod) in and out of each of the
condenser water tubes to loosen the sludge.
3. Thoroughly flush the condenser water tubes with
clean water.
4. Scale deposits are best removed by chemical
means. Be sure to consult any qualified chemical
house in the area (one familiar with the local water
supply’s chemical mineral content) for a
recommended cleaning solution suitable for the
job.
NNoottee:: A standard condenser water circuit is
composed solely of copper, cast iron, and
steel.
NNOOTTIICCEE
UUnniitt CCoorrrroossiioonn DDaammaaggee!!
FFaaiilluurree ttoo ffoollllooww iinnssttrruuccttiioonnss bbeellooww ccoouulldd rreessuulltt iinn
ccoorrrroossiioonn ddaammaaggee ttoo tthhee uunniitt aanndd ttuubbeess..
FFoollllooww pprrooppeerr pprroocceedduurreess wwhheenn uussiinngg ccoorrrroossiivvee
cchheemmiiccaallss ttoo cclleeaann wwaatteerr ssiiddee ooff uunniitt.. IIff uunnssuurree,, iitt
iiss rreeccoommmmeennddeedd tthhaatt tthhee sseerrvviicceess ooff aa qquuaalliiffiieedd
cchheemmiiccaall cclleeaanniinngg ffiirrmm bbee uusseedd..
IImmppoorrttaanntt:: All of the materials used in the external
circulation system, the quantity of the
solution, the duration of the cleaning
period, and any required safety precautions
should be approved by the company
furnishing the materials or performing the
cleaning. Remember, however, that
whenever the chemical tube cleaning
method is used, it must be followed up
with mechanical tube cleaning, flushing,
and inspection.
Evaporator
Since the evaporator is typically part of a closed circuit,
it may not accumulate appreciable amounts of scale or
sludge. Normally, cleaning every three years is
sufficient. However, periodic inspection and cleaning is
recommended on open evaporator systems, such as air
washers.
Waterbox and Tubesheet Protective
Coatings
Trane recommends that coated waterboxes/tubesheets
—regardless of the type of protective coating included
—be taken out of service within the first one to three
months of operation for inspection. Any voids or
defects identified upon inspection must be repaired. If
the water quality is known to be highly supportive of
corrosion (i.e., sea water, etc.), inspect the coating
system at one month; if the water quality is known to
be relatively benign (i.e., normal treated and clean
condenser water), inspect the coating system within
three months. Only when initial inspections show no
problems are present should subsequent maintenance
intervals be increased.
Sacrificial Anodes
The replacement schedule for the optional zinc or
magnesium anodes can vary greatly with the
aggressiveness of the water that is in the system. Some
sites could require anode replacement every two to
three months while other sites may require anode
replacement every two to three years. Trane
recommends inspection of anodes for wear sometime
within the first several months of the anodes being
placed into service. If the observed loss of anode
material is small, then the interval between subsequent
inspections can be lengthened. Replace the anode and/
or shorten the inspection interval if the anode has lost
50 percent or more of its original mass. If anode
depletion occurs very quickly, consult a water
treatment specialist to determine if the anode material
selected is correct for the application.
NNOOTTIICCEE
EEqquuiippmmeenntt DDaammaaggee!!
FFaaiilluurree ttoo ffoollllooww iinnssttrruuccttiioonnss ccoouulldd rreessuulltt iinn
eeqquuiippmmeenntt ddaammaaggee..
DDoo NNOOTT uussee TTeefflloonn--bbaasseedd ttaappee oorr ppaassttee oonn aannooddee;;
aa ssmmaallll aammoouunntt ooff lliiqquuiidd sseeaallaanntt ((LLooccttiittee®® 224422 oorr
eeqquuiivvaalleenntt)) mmaayy bbee aapppplliieedd ttoo pprreevveenntt lleeaakkaaggee
wwhheenn iinnssttaalllliinngg aann aannooddee,, bbuutt ddoo nnoott aappppllyy ssoo
mmuucchh sseeaallaanntt tthhaatt iitt pprreevveennttss tthhee nneecceessssaarryy
eelleeccttrriiccaall ccoonnnneeccttiioonn bbeettwweeeenn tthhee aannooddee aanndd tthhee
wwaatteerrbbooxx..
As needed after draining the waterbox, use a 2-1/2 in.
(63.5 mm) wrench to remove/install Trane-supplied
waterbox anodes.
RReeccoommmmeennddeedd MMaaiinntteennaannccee

Table of Contents

Other manuals for Trane CVHE

Related product manuals