EasyManua.ls Logo

Trane IntelliPak - Page 50

Trane IntelliPak
116 pages
Print Icon
To Next Page IconTo Next Page
To Next Page IconTo Next Page
To Previous Page IconTo Previous Page
To Previous Page IconTo Previous Page
Loading...
50
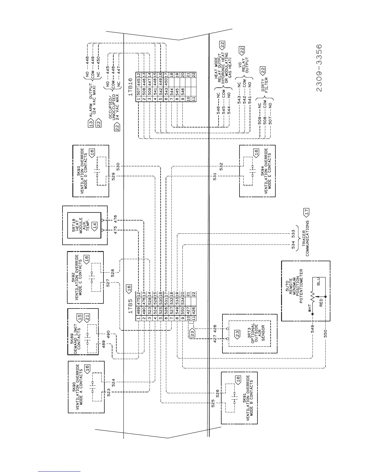
Figure 3-16B
Typical Ventilation Override Binary Output Wiring Diagram for 20 through 130 Ton CV Control Options
Refer to Wiring Notes on page 51

Table of Contents

Other manuals for Trane IntelliPak

Related product manuals