EasyManua.ls Logo

Trane RTAC - Page 22

Trane RTAC
44 pages
Print Icon
To Next Page IconTo Next Page
To Next Page IconTo Next Page
To Previous Page IconTo Previous Page
To Previous Page IconTo Previous Page
Loading...
22
RTAC-SVX005A-EN
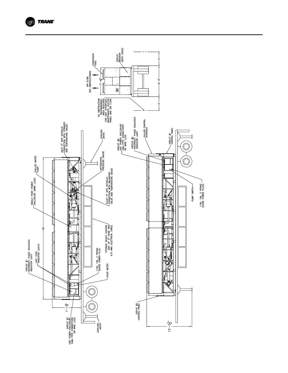
Figure 14. 400 tons RTAC (CSCA0400F0)
Dimensions and Weights

Other manuals for Trane RTAC

Related product manuals