EasyManua.ls Logo

Trane THT02775 - Page 15

Trane THT02775
52 pages
Print Icon
To Next Page IconTo Next Page
To Next Page IconTo Next Page
To Previous Page IconTo Previous Page
To Previous Page IconTo Previous Page
Loading...
BAS-SVX44A-EN 15
Installation and Wiring
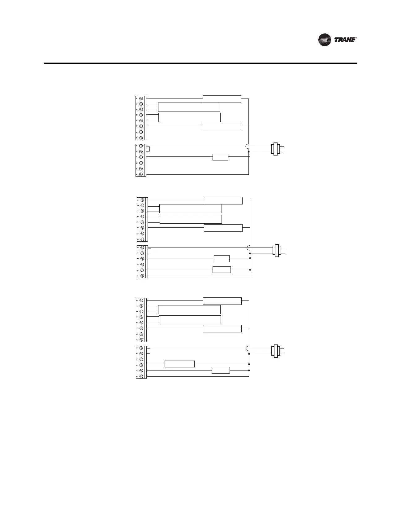
Figure 6. Programmable Thermostat, 1H Only, Conventional Without Fan (Option 3)
Figure 7. Programmable Thermostat, 1H, Conventional With Fan (Option 4)
Figure 8. Programmable Thermostat, 1C, Conventional (Option 5)
24 Vac
C
G
Y
W
Rc
R
W2
Y2
A
S1
S2
Hp
Hs
Dh
Heat
Economizer/TOD
Dehumidification
Remote Temperature Sensor
Remote Humidity Sensor
L2
L1 (hot)
(jumper
installed)
Fan
24 Vac
C
G
Y
W
Rc
R
W2
Y2
A
S1
S2
Hp
Hs
Dh
Heat
Economizer/TOD
Dehumidification
Remote Temperature Sensor
Remote Humidity Sensor
L2
L1 (hot)
(jumper
installed)
Fan
24 Vac
C
G
Y
W
Rc
R
W2
Y2
A
S1
S2
Hp
Hs
Dh
Economizer/TOD
Dehumidification
Remote Temperature Sensor
Remote Humidity Sensor
Compressor
L2
L1 (hot)
(jumper
installed)

Table of Contents

Other manuals for Trane THT02775

Related product manuals