EasyManua.ls Logo

Trane THT02775 - Thermostat Cover Replacement

Trane THT02775
52 pages
Print Icon
To Next Page IconTo Next Page
To Next Page IconTo Next Page
To Previous Page IconTo Previous Page
To Previous Page IconTo Previous Page
Loading...
18 BAS-SVX44A-EN
Installation and Wiring
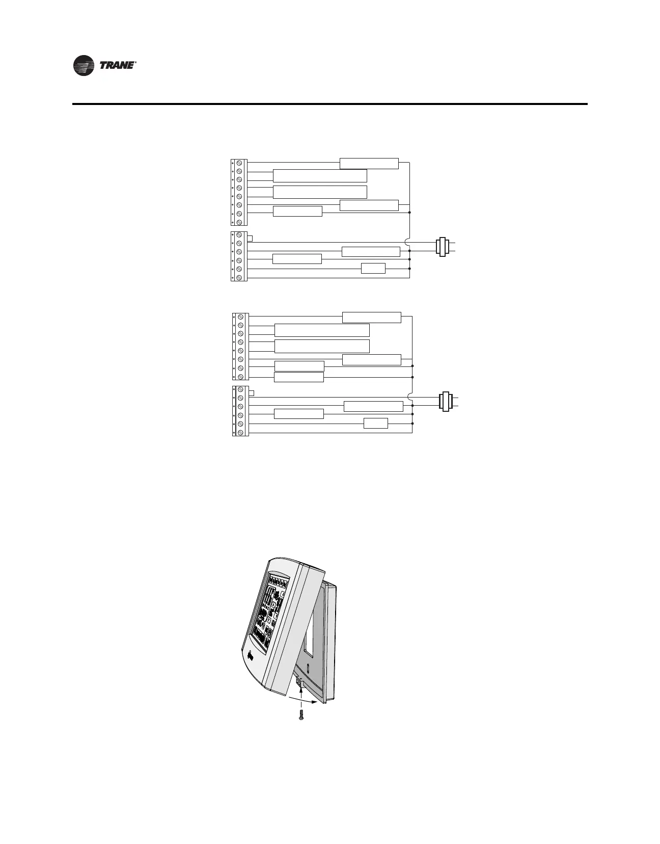
Figure 13. Programmable Thermostat, 2H/2C, Heat Pump Without Auxiliary Heat (Option 10)
Figure 14. Programmable Thermostat, 3H/2C, Heat Pump With Auxiliary Heat (Option 11)
Thermostat Cover Replacement
After completing all wiring, replace the thermostat cover. To replace the cover:
1. Hook the cover over the top of the backplate. Apply light pressure to the bottom of the cover
until
it snaps into place.
2. To help deter tampering, install the security screw into the bottom of the cover as shown below.
Figure 15. Close cover and replace security screw
Fan
24 Vac
Changeover Valve
Compressor 1
Compressor 2
L2
L1 (hot)
(jumper
installed)
Economizer/TOD
Dehumidification
Remote Temperature Sensor
Remote Humidity Sensor
W1
Y2
A
S1
S2
Hp
Hs
Dh
C
G
Y
O/B
Rc
R
Fan
24 Vac
Changeover Valve
Compressor 1
Auxiliary Heat
Compressor 2
L2
L1 (hot)
(jumper
installed)
Economizer/TOD
Dehumidification
Remote Temperature Sensor
Remote Humidity Sensor
W1
Y2
A
S1
S2
Hp
Hs
Dh
C
G
Y
O/B
Rc
R
Install security screw
to deter tampering.

Table of Contents

Other manuals for Trane THT02775

Related product manuals