EasyManua.ls Logo

TREND COMBI 600 - Cutting Bolt Recesses for Connectors; Routing Bolt Recesses (Female Part); Routing Bolt Recesses (Male Part); Bolt Recess Depth Specifications

TREND COMBI 600
15 pages
Print Icon
To Next Page IconTo Next Page
To Next Page IconTo Next Page
To Previous Page IconTo Previous Page
To Previous Page IconTo Previous Page
Loading...
-10-
COMBI 600
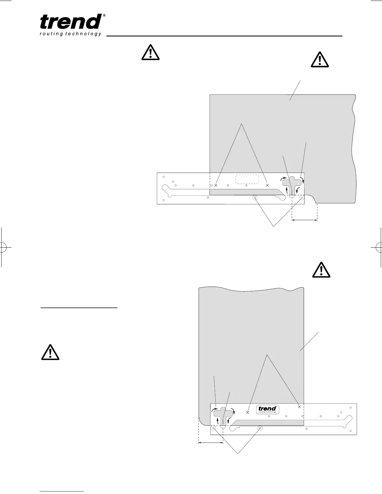
Cutting the Bolt Recesses
When the joint has been tested, proceed as
follows to cut the recess for panel butt
connectors bolt on the underside of the worktop.
The same cutter and guide bush are retained
and used with the integral bolt recess slots in the
jig to produce the recesses for the panel butt
connectors. The bolt recess position can be
gauged approximately 150mm from the edge of
the postform edge, or where access is possible
with kitchen units. Mark with pencil both
positions on the underside of the worktop.
Insert the location bushes into the bolt recess
holes as shown.
The template may need to be
inverted when cutting some bolt
recesses.
Securely clamp jig to worktop.
The bolt recesses should be approximately
20mm deep although this will depend upon
the thickness of worktop.
Once one bolt recess is cut move jig
over to the remaining pencil lines and repeat.
Repeat the procedure for the male joint.
Routing the bolt recess in the
female part of the joint
Quick action
clamp here
150mm
Location bushes in
bolt recess hole
Pencil mark
Direction of
router travel
Worktop Recess
Thickness Depth
30 22mm
40 28mm
Routing the bolt recess in the
male part of the joint
150mm
Location bushes in
bolt recess hole
Pencil mark
Direction of
router travel
Quick action
clamp here
Underside of
worktop
Postform edge
Underside of worktop
Best results are achieved when the
centre line of the bolt corresponds to
the centre line of the worktop. Clamp
jig securely to worktop.
MANU/600 v2 8/2/08 14:15 Page 10

Related product manuals