EasyManua.ls Logo

Tripp Lite SmartRack - Installing and Removing Cage Nuts

Tripp Lite SmartRack
44 pages
Print Icon
To Next Page IconTo Next Page
To Next Page IconTo Next Page
To Previous Page IconTo Previous Page
To Previous Page IconTo Previous Page
Loading...
12
Installing or Removing Cage Nuts
WARNING: The flanges of the cage nuts should engage the sides of the square opening in the rail, not the top and bottom. Follow the
instructions in your equipment documentation to ensure proper installation of your equipment.
20
19
18
22
21
20
19
18
22
21
20
19
18
22
21
20
19
18
22
21
1
2
3
4
Equipment Installation
Installing Cage Nuts
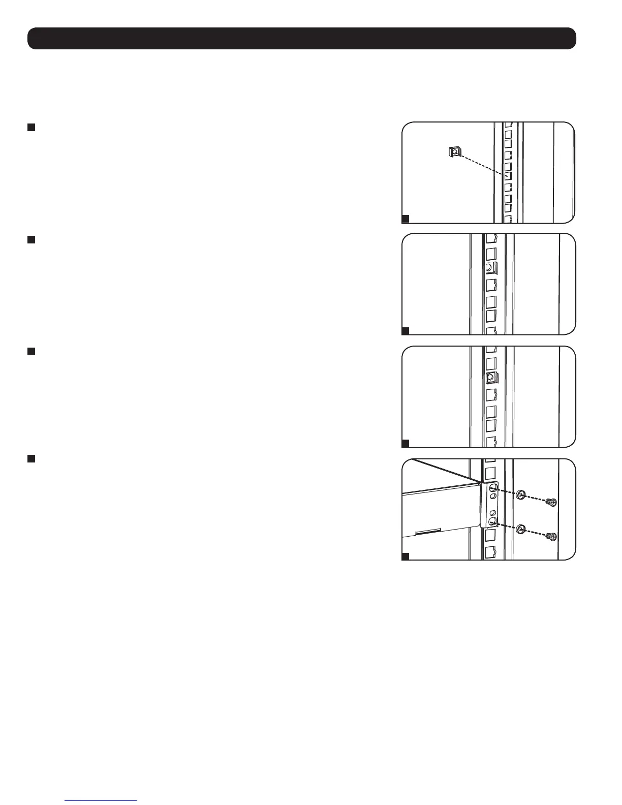
1
Locate the numbered square openings in the mounting rails where you plan to install your
equipment. You will install cage nuts (included) into the square openings in order to provide an
attachment point for the mounting screws (included). Note: Consult your equipment documentation
to determine how many cage nuts will be required and where they will need to be installed.
2
From the inside of the mounting rail, insert one of the flanges of the cage nut through the square
opening. Press it against the side of the square opening. Each flange should engage one side of
the square opening, not the top or bottom.
3
Compress the cage nut at the sides slightly to allow the remaining flange to fit through the square
opening. When the cage nut is properly installed, both flanges will protrude through the square
opening and will be visible on the outer surface of the mounting rail. Repeat steps 1-3 until all
required cage nuts are installed.
4
After installing the required cage nuts, use the included mounting screws and cup washers to
secure your equipment to the rack rail. Place the cup washers between the screws and the
equipment mounting brackets. Note: Your equipment may also include mounting hardware. Read
the mounting instructions that came with your equipment before installing your equipment.
To Remove Cage Nuts, Reverse Steps 1-3
Note: You may wish to use a cage nut tool (user-supplied) to aid cage nut installation and removal.

Table of Contents

Related product manuals