EasyManua.ls Logo

Tripp Lite SmartRack - Installation Ou Enlèvement des Écrous À Cage

Tripp Lite SmartRack
44 pages
Print Icon
To Next Page IconTo Next Page
To Next Page IconTo Next Page
To Previous Page IconTo Previous Page
To Previous Page IconTo Previous Page
Loading...
40
Installation ou enlèvement des écrous à cage
MISE EN GARDE : Les brides des écrous à cage doivent s’encastrer dans les côtés de l’ouverture carrée dans le rail, pas au sommet ni à la
base. Suivre les instructions de la documentation de votre équipement pour garantir sa bonne installation.
20
19
18
22
21
20
19
18
22
21
20
19
18
22
21
20
19
18
22
21
1
2
3
4
Installation de l’équipement
Installation des écrous à cag
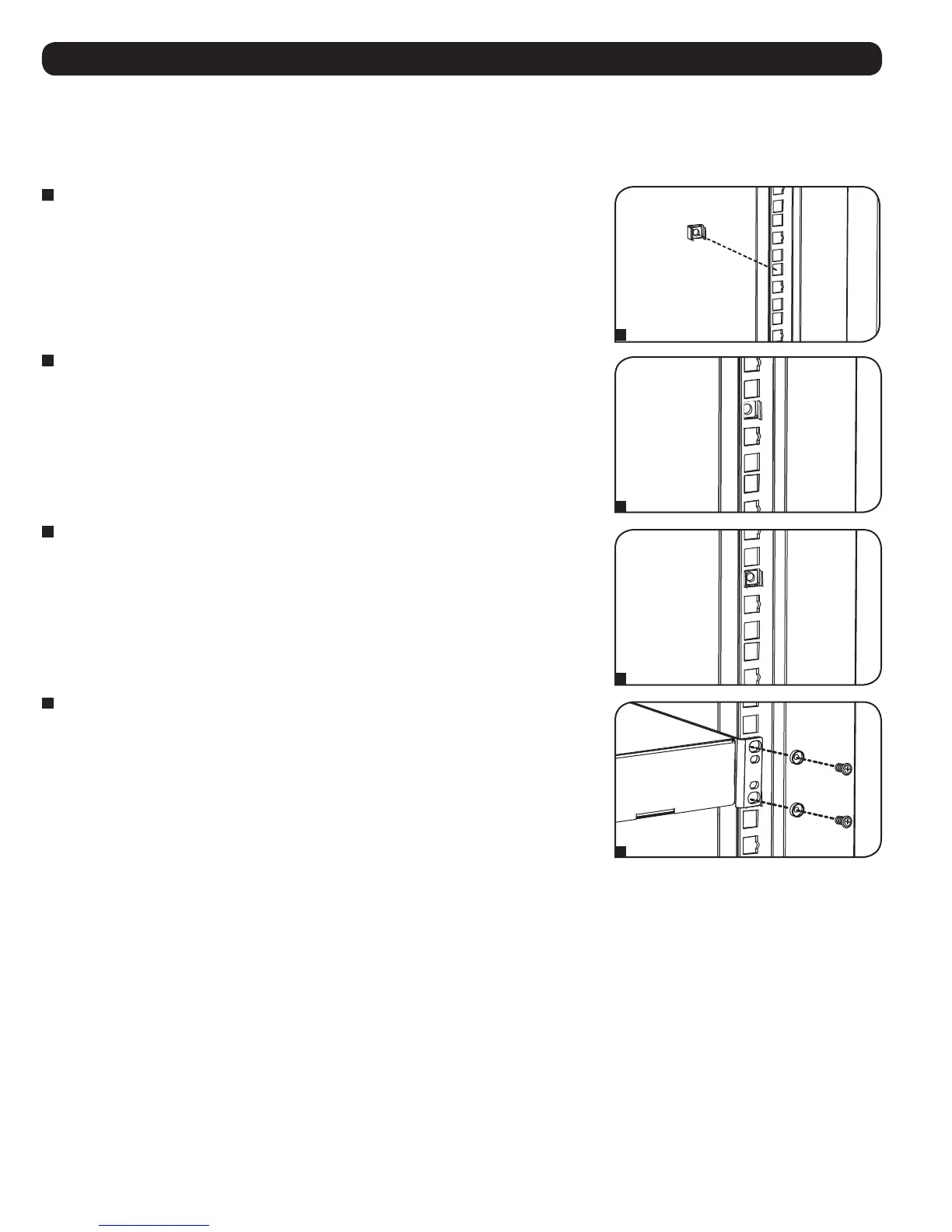
1
Repérer les ouvertures carrées numérotées dans les profilés de montage où vous planifiez
d’installer votre équipement. Vous poserez des écrous à cage (fournis) dans les ouvertures carrées
afin de fournir un point de fixation pour les vis de montage (fournies). Note : Consulter la
documentation de votre équipement pour savoir combien d’écrous à cage seront nécessaires et où
ils devront être installés.
2
Depuis l’intérieur du profilé de montage, introduire une des brides de l’écrou à cage dans
l’ouverture carrée. Appuyer la bride contre le côté de l’ouverture. Chaque bride doit s’encastrer
dans un des côtés de l’ouverture, pas au sommet ni à la base.
3
Comprimer légèrement les côtés de l’écrou à cage pour permettre à l’autre bride de s’engager
dans l’ouverture. Quand l’écrou à cage est correctement posé, les deux brides vont dépasser de
l’ouverture carrée et seront visibles à la surface extérieure du profilé de montage. Répéter les
étapes 1 à 3 jusqu’à ce que tous les écrous à cage nécessaires soient posés.
4
Après la pose des écrous à cage, utiliser les vis de montage et les rondelles à collerette pour fixer
l’équipement au profilé du bâti. Placer les rondelles à collerette entre les vis et les pattes de
fixation de l’équipement. Note : La quincaillerie de fixation peut aussi être jointe à votre
équipement. Lire les instructions de montage jointes à votre équipement avant d’installer celui-ci.
Pour enlever les écrous à cage, inverser les étapes 1 à 3
Note : Vous pouvez utiliser un outil pour écrou à cage (fourni par l’utilisateur) afin d’aider à la pose et
à l’enlèvement des écrous.

Table of Contents

Related product manuals