EasyManua.ls Logo

Tripp Lite SmartRack - Installation de Larmoire; Préparation; Déballage

Tripp Lite SmartRack
44 pages
Print Icon
To Next Page IconTo Next Page
To Next Page IconTo Next Page
To Previous Page IconTo Previous Page
To Previous Page IconTo Previous Page
Loading...
32
Attention!
Lire toutes les instructions et les mises en garde avant l’installation!
MISE EN GARDE : Cette armoire de bâti est très lourde. Ne pas essayer de la déballer, de la déplacer ou de l’installer sans aide. Jusqu’à ce
qu’elle soit correctement installée et stabilisée, l’armoire a tendance à basculer et peut causer des dégâts matériels et des blessures. Faire
très attention lors de la manutention de l’armoire et veiller à suivre toutes les instructions de manutention et d’installation. Ne pas essayer
d’installer de l’équipement sans avoir d’abord stabilisé l’armoire.
Préparation
Il faut installer l’armoire dans une aire à structure solide dont le plancher de niveau est capable de supporter le poids de l’armoire, de tout l’équipement qui
sera installé dans l’armoire et des autres armoires et équipements qui seront installés à proximité. Avant de déballer l’armoire, vous devez transporter le
conteneur d’expédition à proximité de l’emplacement de l’installation finale pour réduire la distance de déplacement de l’appareil une fois que l’emballage
protecteur aura été enlevé. Si vous planifiez d’entreposer l’armoire pendant une période prolongée avant installation, suivre les instructions du chapitre
Entreposage et service.
Vous aurez besoin de plusieurs outils (fourni par l’utilisateur) :
Une clé ouverte de 13 mm
Une clé ouverte de 18 mm
Un couteau universel
Un niveau de charpentier
Un tournevis Phillip
Une clé Allen de 5/32 po
Vous aurez aussi besoin de la quincaillerie suivante (fournie) :
(60) vis Phillips (M6 x 5/8 po)
(60) Écrous à cage (M6)
(60) Rondelles à collerette en nylon
Déballage
Note : Si l’armoire est un modèle « SP1 » avec une palette antichoc, suivre les instructions spéciales de déballage jointes au conteneur
d’expédition plutôt que celles de ce chapitre. Cependant, toutes les mises en garde s’appliquent.
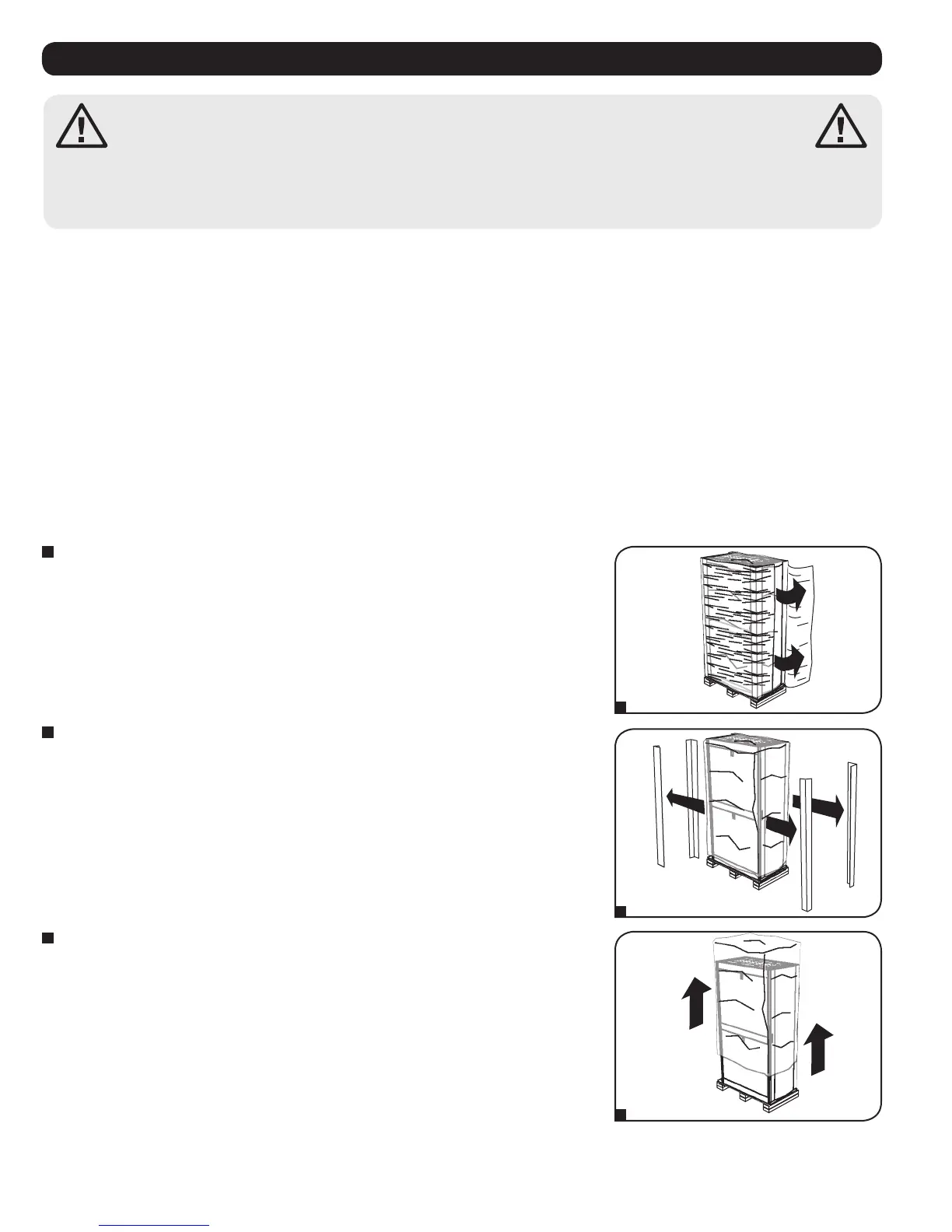
1
2
3
Installation de l’armoire
1
Vérifier que le conteneur d’expédition est vertical et stable; utiliser ensuite un couteau universel
pour couper le film thermorétractable qui retient les cornières de protection. Appliquer le couteau
universel directement au-dessus des cornières pour éviter d’égratigner l’armoire ou de couper le
solide sac protecteur en plastique sous le film thermorétractable. MISE EN GARDE : Ne pas
égratigner l’armoire ou couper le solide sac protecteur en plastique sous le film
thermorétractable. Ne pas pousser ni tirer l’armoire lors du déballage.
2
Retirer les cornières de protection. Conserver tous les matériaux d’emballage (y compris la palette)
pour une utilisation ultérieure sauf si vous êtes certain de ne plus en avoir besoin. Les matériaux
d’emballage sont recyclables.
3
Retirer le lourd sac de plastique entourant l’armoire. Examiner l’armoire pour vérifier si elle est
endommagée ou s’il manque des pièces. Vérifier la présence de toutes les pièces. Si quoi que ce
soit manque ou est endommagé, communiquer avec Tripp Lite pour de l’aide. Ne pas essayer
d’utiliser l’armoire si elle a été endommagée.

Table of Contents

Related product manuals