EasyManua.ls Logo

typical TW7-6BR - Stitch Length, Forward and Backward Feed; Oiling the Thread Take-Up Lever; Adjusting the Pressure of Presser Foot

typical TW7-6BR
35 pages
Print Icon
To Next Page IconTo Next Page
To Next Page IconTo Next Page
To Previous Page IconTo Previous Page
To Previous Page IconTo Previous Page
Loading...
17.Adjusting the pressure of presser foot (Fig.13)
13
5
11
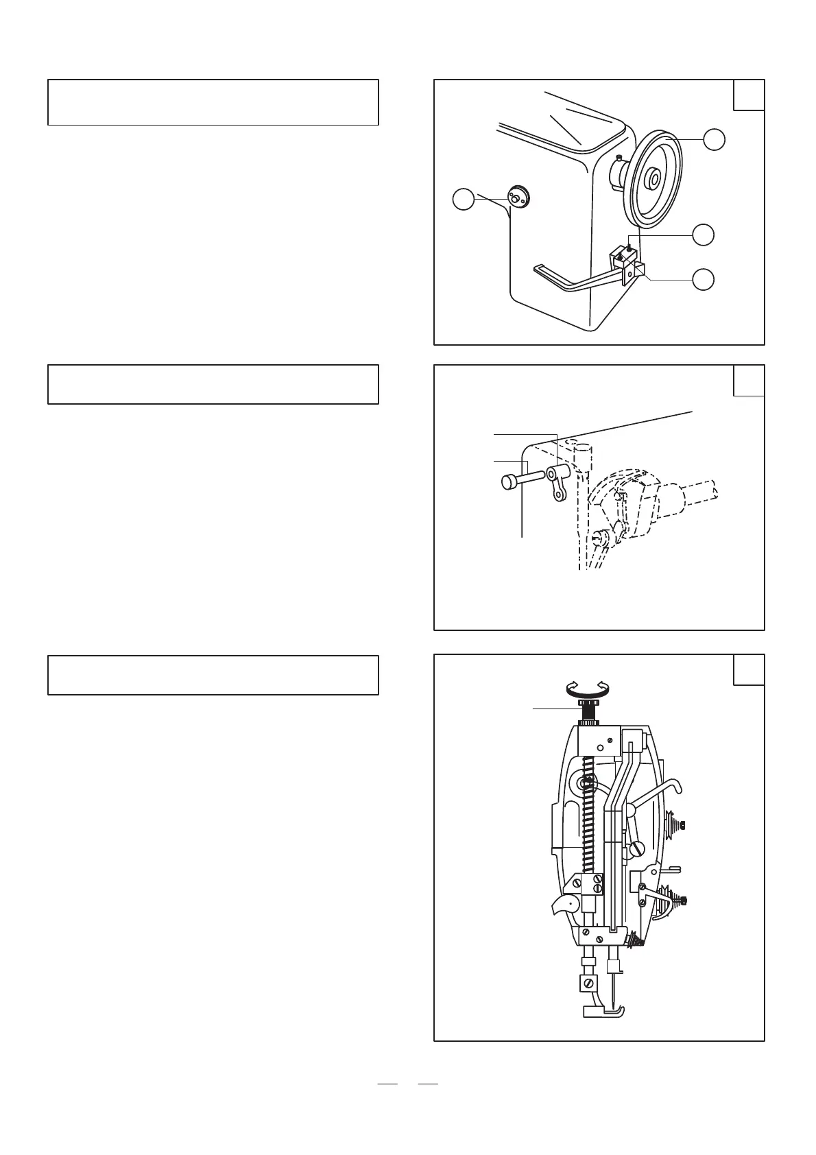
The stitch length can be adjusted by the button A.
Press the button, then turn the hand wheel B
clockwise to decrease the sitich length or
counter-clockwise to increase the stitch length. After
adjustment, please test the stitch length by paper
until the required length is reached. Finally, please
check the error between forward and backward feed.
If the backward feed is short, turn the screw C
counter-clockwise, then tighten the nut; if the
backwasrd feed is long, turn the screw D to adjust. .
A
B
C
D
16.Oiling the thread take-up lever (Fig.12)
12
The thread take-up lever and needle bar is lubricated
by oil woolen wick, if the oil wick has no the
function because of the pollution or hardened, please
change a new on:
1. Open the face plate, uninstall the screw, lock
nut.
2. Pull out the pin A, and take out the oil wick.
3. Take out the oil wick in the B
4. Change a new one.
5. The installation steps are counter-sequence.
A
B
Adjust the pressure of presser foot according to the
materials. First loosen the nut A, then turn the thumb
screw clockwise (a) to increase the pressure, on
the contrary, to decrease the pressure, after the
proper pressure is obtained, tighten the nut A.
The proper pressure is assure the materials be feed
properly.
.
.
a
b
A
15.Stitch length, forward and backward
feed (Fig.11)

Related product manuals