EasyManua.ls Logo

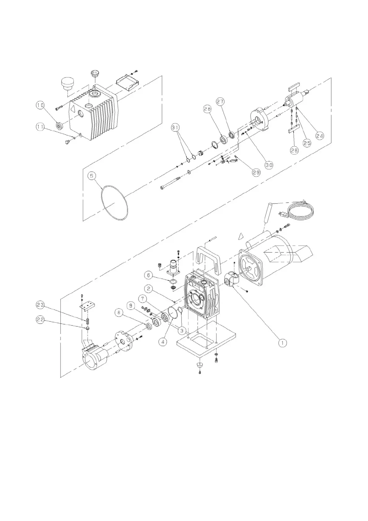
Ulvac G-100D - Fig.11 Disassembly Drawing of G-100 S Oil Sealed Rotary Vacuum Pump

Ulvac G-100D
50 pages
Print Icon
To Next Page IconTo Next Page
To Next Page IconTo Next Page
To Previous Page IconTo Previous Page
To Previous Page IconTo Previous Page
Loading...
-30-
Fig. 11 Disassembly drawing of G-100S oil sealed rotary vacuum pump

Table of Contents

Related product manuals