EasyManua.ls Logo

Ulvac MBD-D - Figure 4-1 Wiring MBD-D and MBS-C

Default Icon
32 pages
Print Icon
To Next Page IconTo Next Page
To Next Page IconTo Next Page
To Previous Page IconTo Previous Page
To Previous Page IconTo Previous Page
Loading...
CRYO-METER MBD-D Instruction Manual
ULVAC CRYOGENICS INCORPORATED 5
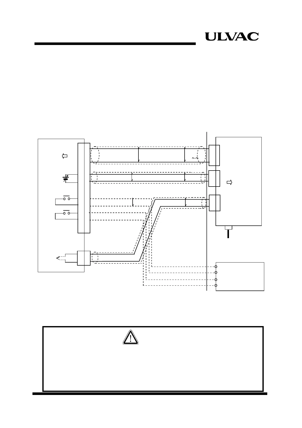
Wiring
After attaching the MBD-D to the panel, wire the device to the MBS-C. Use the MBD and
MBS-C connection cable (MBD-HS30) to connect POWER and ANALOG OUT in the I/O of the
MBS-C. In this case, wiring of the RELAY shown in the dotted lines is to be done by the
customer. The MBD-D receives the K(CA) signal from the MBS-C and display the first-stage
temperature. Connect the K thermocouple cable between K(CA) connector of MBS-C and K
thermo connector of MBD-D.
If you use other types of connection cables, refer to the MBS-C Instruction Manual Table 1-2 or
Appendix 2 Attachments and Option Cables”.
<Notes>
1. Maximum length of our optional MBD and MBS-C connection cable (MBD-HS30) is 20 meters.
2. The dotted lines are to be wired by customers.
Figure 4-1 Wiring MBD-D and MBS-C
Customer’s Control Board
Shielded Twisted Cable
A
B
MBS-C
POWER
RELAY
ANALOG
OUT
K(CA)
A
B
C
A
B
MBD-D
POWER OUT
ANALOG IN
Shielded Twisted Cable
Shielded Twisted Cable
AWG #24, or 0.3mm
2
max.
DIGITAL IN
C
C
u
u
s
s
t
t
o
o
m
m
e
e
r
r
s
s
S
S
y
y
s
s
t
t
e
e
m
m
+
-
+
-
< 20K
> 280K
(*1)
(*1)
(Signal Cable)
(DC Power Cable)
6
14
2
10
4
12
5
13
I/O
POWER
RELAY
ANALOG OUT
P
P
o
o
w
w
e
e
r
r
C
C
a
a
b
b
l
l
e
e
+
-
K Thermo
(Signal Cable)
K Thermocouple OUT
When routing cables;
In order to prevent mutual interference during operation, signal lines, control lines, and AC
power lines should be placed in separate conduits. Especially, do not route MBS analog
lines in a way such as to place together with AC power lines or control lines of other
equipments in a same conduit, or to bundle them together. It may cause interference to
MBS-C operation.
If separated conduits are not possible, keep enough distance between the lines (300mm
or more) to avoid the interference.
CAUTION

Related product manuals