EasyManua.ls Logo

Unitronics Vision V130-TR34 - Page 7

Unitronics Vision V130-TR34
12 pages
Print Icon
To Next Page IconTo Next Page
To Next Page IconTo Next Page
To Previous Page IconTo Previous Page
To Previous Page IconTo Previous Page
Loading...
Vision™PLC+HMI
Unitronics
7
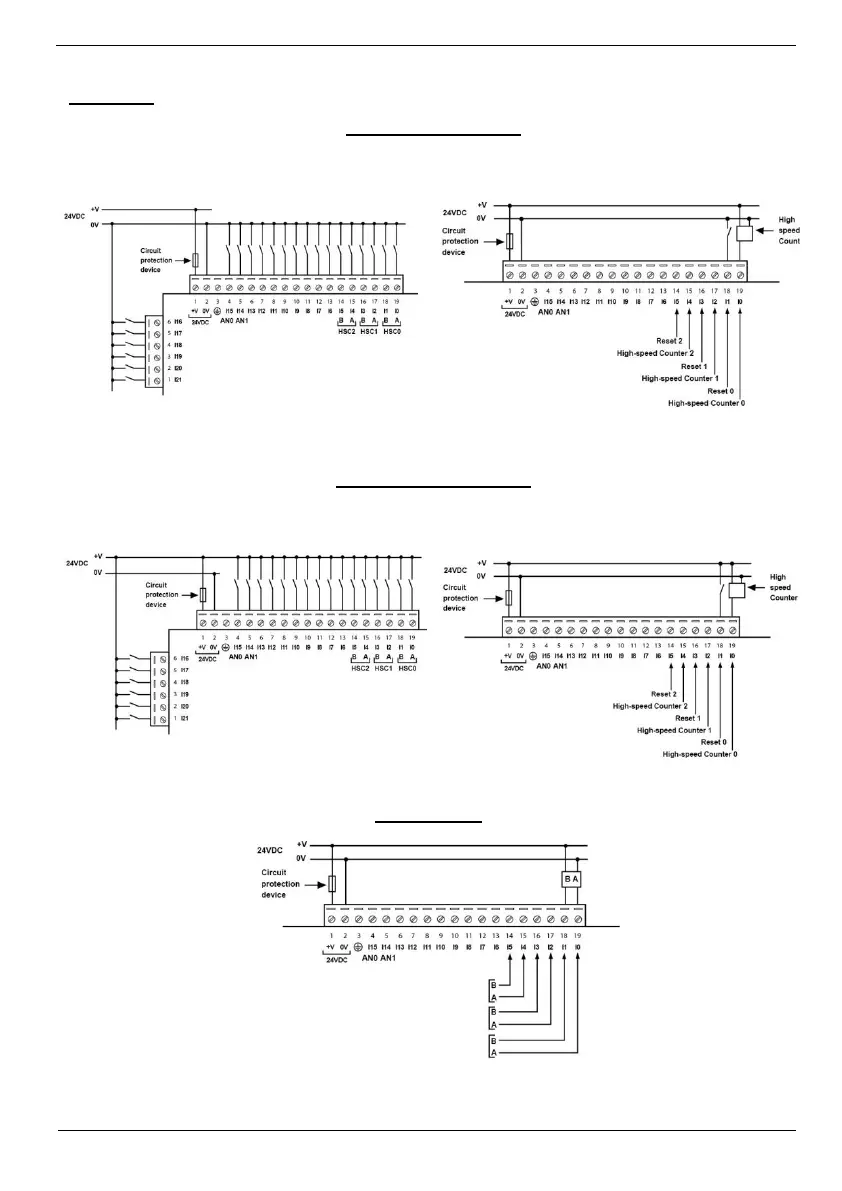
I/O Wiring
npn (sink) Input Wiring
Input wiring
HSC input wiring
pnp (source) Input Wiring
Input wiring
HSC input wiring
Shaft-encoder

Related product manuals