EasyManua.ls Logo

urmet domus Miro - Description of Components; Indicator LEDs; Button Functions; Features

urmet domus Miro
13 pages
Print Icon
To Next Page IconTo Next Page
To Next Page IconTo Next Page
To Previous Page IconTo Previous Page
To Previous Page IconTo Previous Page
Loading...
7
DS1139-004
ENGLISH
INDEX
1. DESCRIPTION OF COMPONENTS ............................................................................................................ 7
1.1. INDICATOR LEDS ............................................................................................................................. 8
1.2. BUTTON FUNCTIONS ...................................................................................................................... 8
2. FEATURES ................................................................................................................................................. 8
2.1. CALL RECEPTION ............................................................................................................................ 8
2.2. ANSWERING THE CALL ................................................................................................................... 9
2.3. DOOR OPENER DURING CALL ........................................................................................................ 9
2.4. FLOOR CALL ..................................................................................................................................... 9
2.5. CALLING THE SWITCHBOARD ........................................................................................................ 9
2.6. INTERCOM CALL
............................................................................................................................. 9
2.7. CALL TONE SELECTION .................................................................................................................. 9
2.8. ADJUSTING THE CALL VOLUME ................................................................................................... 10
2.9. PANIC ALARM ................................................................................................................................ 10
2.10. AUTOMATIC DOOR OPENER ......................................................................................................... 10
3. USER DATA RESET .................................................................................................................................. 11
4. REBOOTING THE DEVICE ....................................................................................................................... 11
The Ref. 1139/3 is an IP device dedicated exclusively to the IPerVoice system.
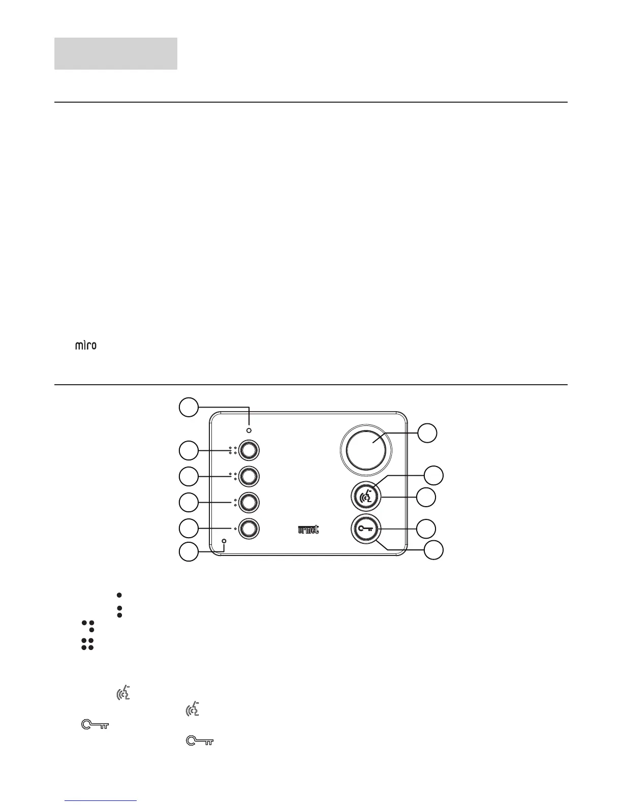
1. DESCRIPTION OF COMPONENTS
1
6
10
11
9
8
7
2
3
4
5
1. Microphone
2. Button see button function table
3. Button see button function table
4. Button to connect to Yokis devices
5. Button to connect to Yokis devices
6. Multicolour indicator LED
7. Call and conversation speaker
8. Button to switch on audio or end the current conversation
9. Green LED under the button
10. Door opener button
11. Green LED under the button

Related product manuals