EasyManua.ls Logo

Utax CLP 3521 - Page 131

Utax CLP 3521
187 pages
Print Icon
To Next Page IconTo Next Page
To Next Page IconTo Next Page
To Previous Page IconTo Previous Page
To Previous Page IconTo Previous Page
Loading...
2HL/2HM/2HN
1-6-4
(3) Downloading the firmware from the memory card
To download data written in a memory card (CompactFlash) to the printer, proceed as explained in this section.
CAUTION
Downloading firmware takes several minutes. Do not turn power off during downloading.
Procedure
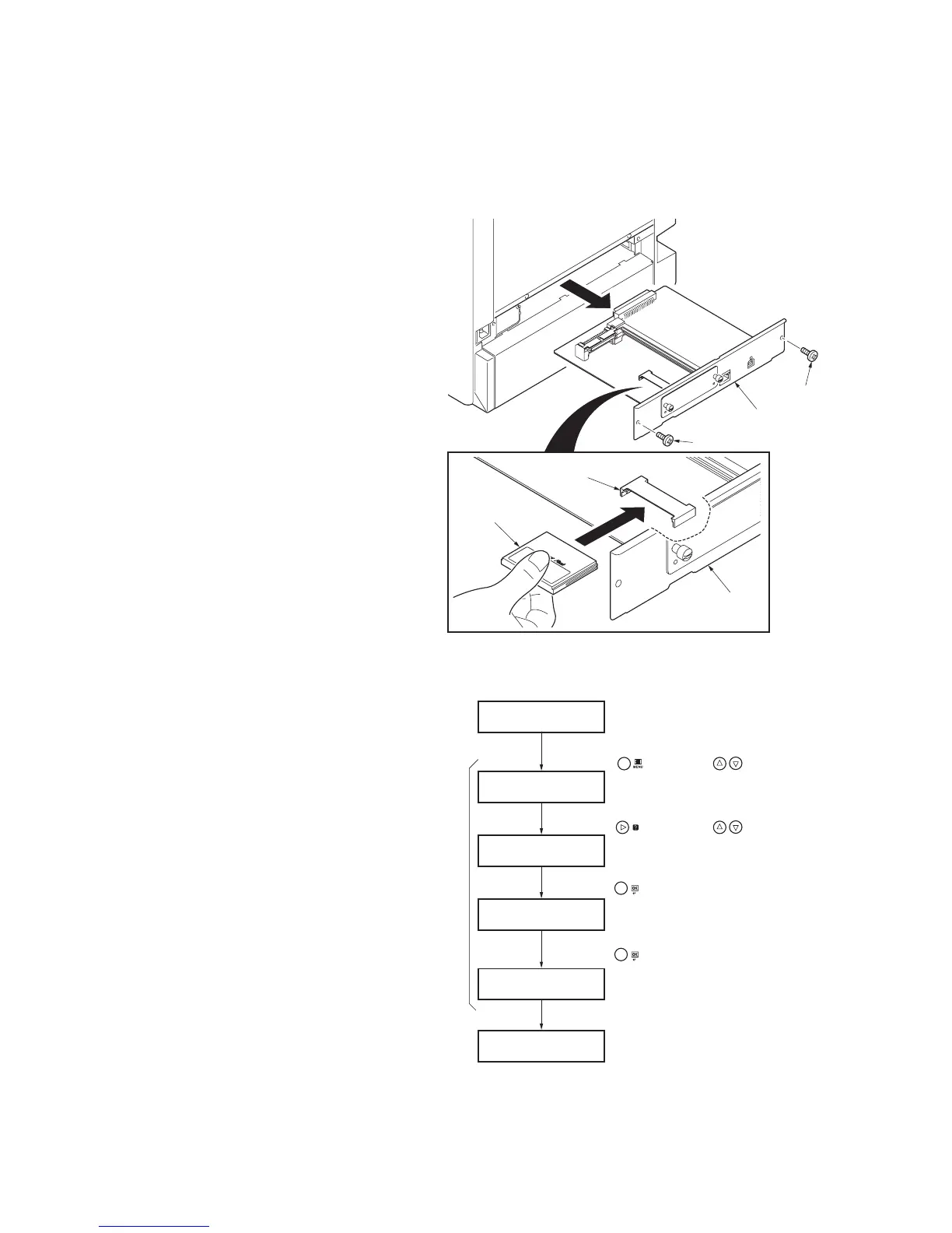
1. Turn printer power off.
2. Remove the two screws and then remove
the main PWB.
3. Insert the memory card into the memory
card socket.
4. Re fit the main PWB.
Figure 1-6-5
5. Turn printer power on.
6. Press MENU key on the printer's operation
panel and carry out the memory card for-
matting procedure (1).
7. When formatting is complete, turn printer
power off.
Figure 1-6-6
Main PWB
Main PWB
Screw
Screw
Memory card
Memory card
socket
Message display
Operation panel key
Press MENU key.
Press arrow key.
(Format information is
automatically printed.)
(1)
>Memory Card >
>>Format
>>Format ?
Processing
Ready
Ready
Press arrow key.
Press arrow key.
Press OK key.
Press OK key.

Other manuals for Utax CLP 3521

Related product manuals