EasyManua.ls Logo

Valtra 6000 - Page 1162

Valtra 6000
1361 pages
Print Icon
To Next Page IconTo Next Page
To Next Page IconTo Next Page
To Previous Page IconTo Previous Page
To Previous Page IconTo Previous Page
Loading...
1105
Modell
No Page
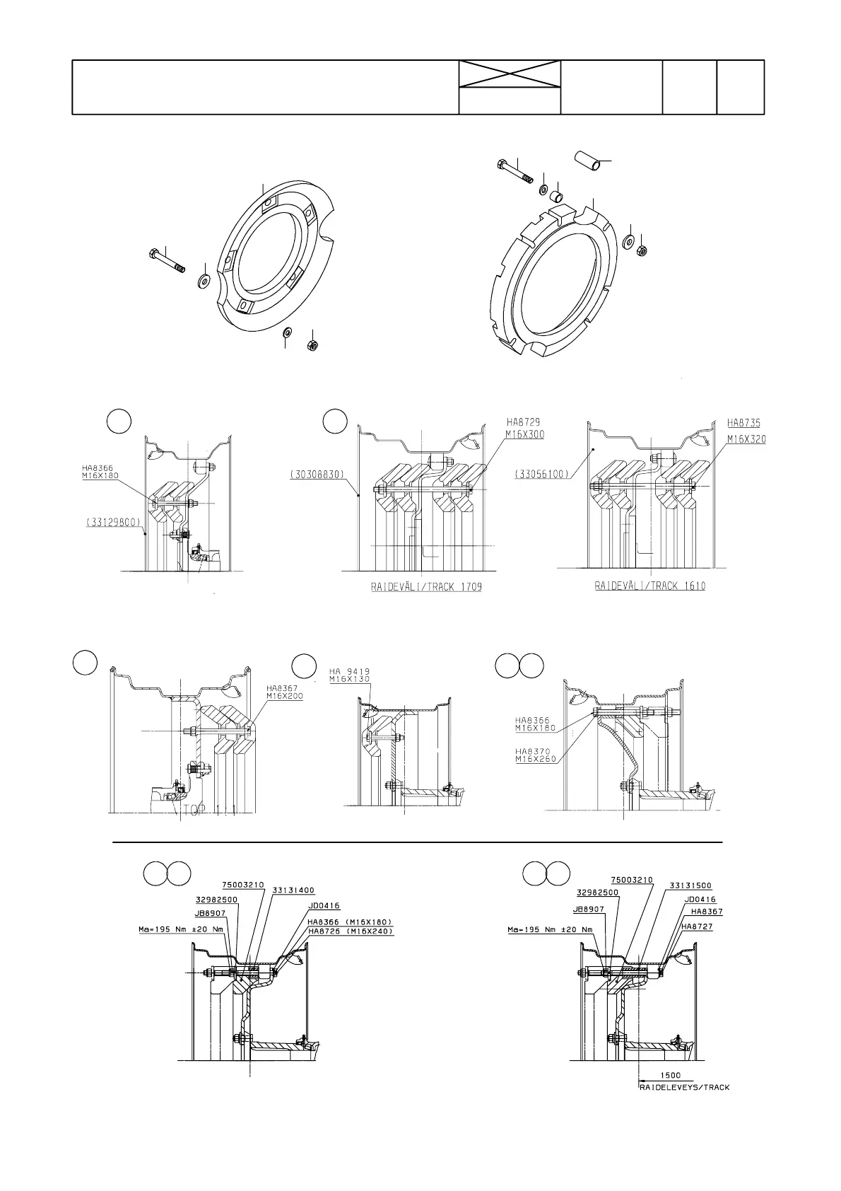
FITTING INSTRUCTION
08.12.1995
205---8750 79.2 3
WHEEL WEIGHTS
(3)01.04.1998
8
14
13
9
12
11
10
16
17
18
15
DW14x30” sääd. / justerb./ adj ustable
W12x28” sääd. / justerb./ adjustable
DW14x30” kiinteä/
fäst/ fixed
DW12x38” sääd. / justerb.
/ adjustable
DW15Lx34” sääd./ justerb. / adjus table
A B
D
FE
DW16x34” kiinteä / fäst
/fixed
C
G H I J
DW15Lx30” (33053100 )
DW14Lx30” (33053000 )
14A

Table of Contents

Related product manuals