EasyManua.ls Logo

Valtra 6350 - Page 690

Valtra 6350
1361 pages
Print Icon
To Next Page IconTo Next Page
To Next Page IconTo Next Page
To Previous Page IconTo Previous Page
To Previous Page IconTo Previous Page
Loading...
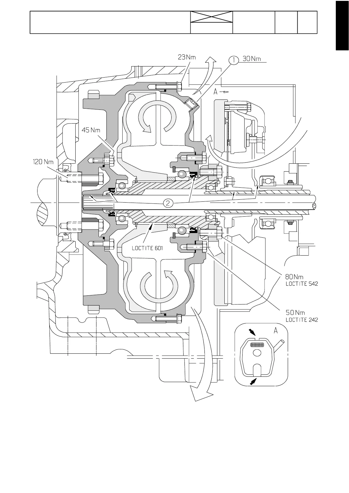
Figure 5. Transfluid---coupling (658206---666065)
1. Oil filling/draining plug. Chesterton no. 908 (UK 0181) on
threads.
2. EP grease
641
Model Code Page
41. Clutch
6000--8750 410 7
1. 1. 1995
15. 5. 1993
Hydraulic coupling Transfluid (658206---666065)
With effect from tractor ser. no 658206 up to ser. no 666065
tractors 6000---8000 have a hydraulic coupling of Transfluid
make.
Oil quality and volumes in the hydraulic coupling, see page
130/4.

Table of Contents

Related product manuals