EasyManua.ls Logo

Valtra 6650 - Page 801

Valtra 6650
1361 pages
Print Icon
To Next Page IconTo Next Page
To Next Page IconTo Next Page
To Previous Page IconTo Previous Page
To Previous Page IconTo Previous Page
Loading...
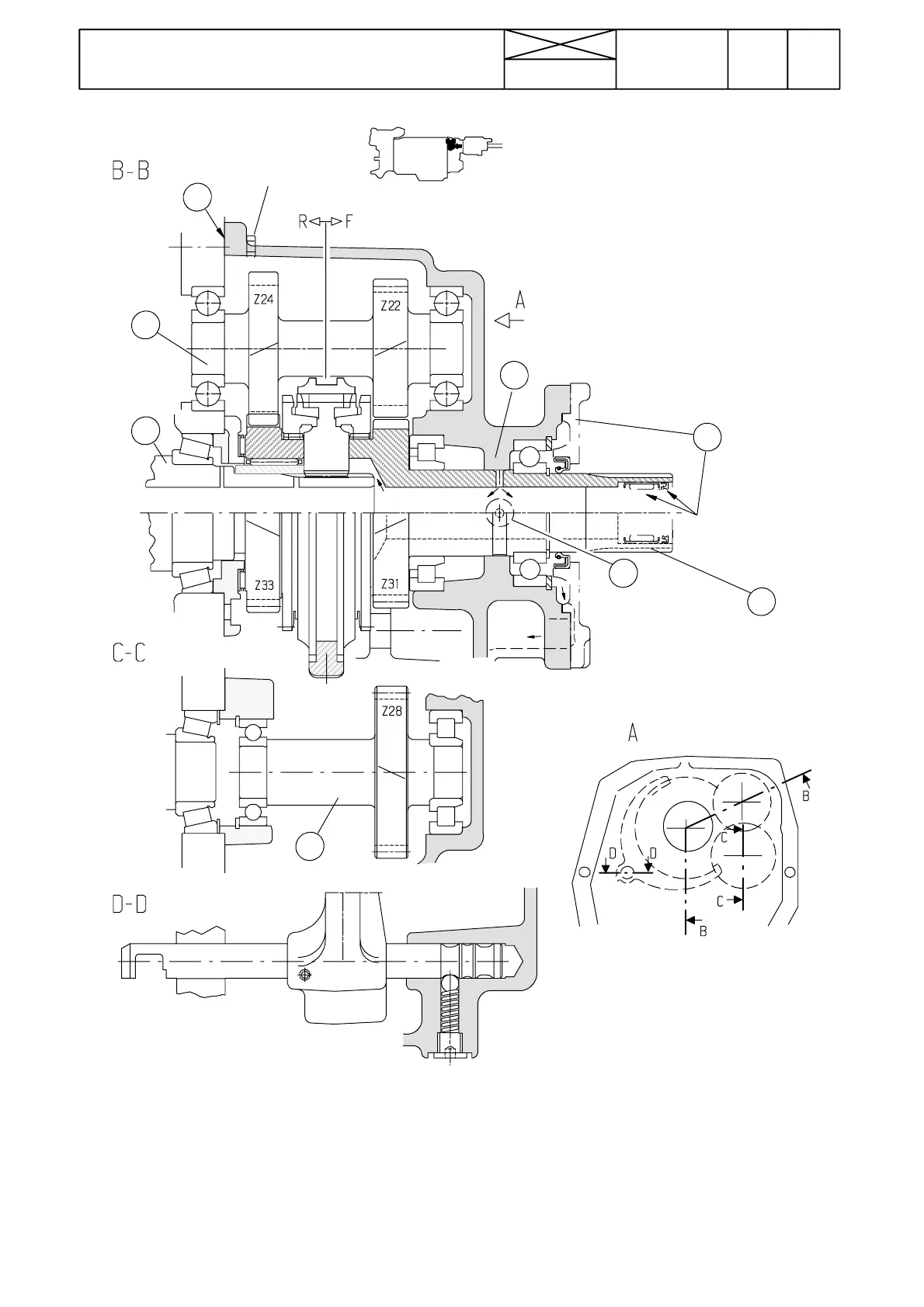
Figure 9 Cross section of mechanical reverse
shuttle
1. Cover only on tractors without quick ---shift
gear
2. Lubricating oil bore
3. Reversing shaft
4. Sealing compound Hylosil RTV Grade 102
black
5. Gearbox input shaft
6.Reverseshuttleinputshaft
7. Reverseshuttlelayshaft
8. On later tractors there is a loose metal ring
between bearings. The ring has been fastened
with locking fluid.
748
Model Code Page
1. 11. 1998
6000--8750
18440
44. Quick---shift gear, reverse shuttle
and 4WD clutch
15. 5. 1993
21---25 Nm
1
2
3
4
5
6
7
8
Forward driving
The synchromeshunit is in the frontposition (F). Gear Z31 has
been engaged to the gearbox input shaft (5), and power is
transmitted direct to the gearbox (transmission ratio 1:1).
Reversing
The synchromesh unit is in the rear position (R). Power is
transmitted from the input shaft (6 ) via reversing shaft (3) to
the layshaft (7). The layshaft rear gear (Z24) rotates the gear
Z33 which has been engaged to the gearbox input shaft (5).
(transmission ratio 2,5 % faster than in driving forward).

Table of Contents

Related product manuals